Zurück zu
>
Roth / TORO
>
Aufsitzmäher
>
Traktor
>
212-H
>
303/R2-12OE02
>
2000001
>
Rahmen
Ersatzteillisten für Toro Roth / TORO Rahmen
Pos.
Bezeichnung
Ersatzteilnummer
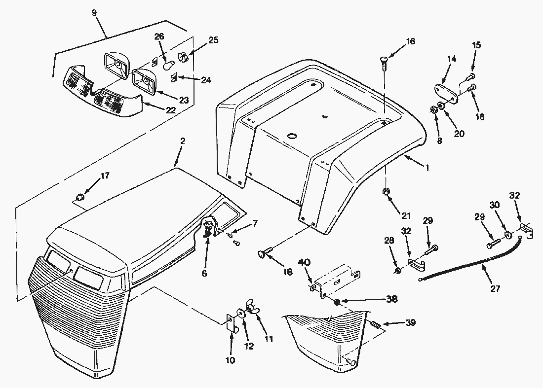
1
Fender
114389
2
Hood & Grill
79-3840
6
Handle w/Bracket (109237)
117344
7
Pop Rivet
117432
8
Mutter
3219-14
9
Lampe
116591
10
Clip-J
111392
11
Fleugelmutter
32103-19
12
Scheibe
103995
14
Reflector
108547
15
Poprivet
109193
16
Schloss Schraube
3230-23
17
Buechse
938031
18
Screw
910808
20
Federring
3253-17
21
Mutter
3217-6
22
Light Bar
116601
23
Lampenhalter
111684
24
Stecker
111685
25
Birnenfassung
116262
26
Birne (2)
7228
27
Stahlseil
115414
28
Nut-Hex
915740
29
Machine Hd. Screw
913111
30
Washer-Backing
112925
32
Clevis
115413
38
Buechse
5977
39
Feder
111536
40
Mutter
79-2590
Gebrauchsanweisungen
Toro
Roth / TORO
Aufsitzmäher
Traktor
264-6
246 HE
244-5
212-H
303/R2-12OE02
2000001
Schilder & Verschiedenes
Motor Vergaser
Motor Starter
Motor Schwungrad & Abdeckung
Motor Regler Gestänge & Abdeckung
Motor Luftfilter
Motor Zündung
Motor Zylinderkopf & Ventile
Motor Ölwanne & Pumpe
Motor Kurbelwelle & Nockenwelle
Motor Zylinderblock
Motor & Auspuff
Motor-Riemenscheibe & Zapfwellenkupplung
Bremse & Spannrolle (212-H)
Getriebegestänge (212-H)
Bürsten Zapfwelle (212-H)
Getriebe (210-H & 212-H)
Bremse & Spannrolle (212-5)
Bürsten Zapfwelle (212-5)
Peerless Getriebe Modell-Nr. 930-020* (212-5)
Getriebe (212-5)
Rad & Reifen
Vorderachse & Lenkung
Elektrik
Rahmen
Sitz
Rahmen
303/R2-12OE01
212-5
17-44 HXLE
16-44 HXL
16-38 HXL
16-38 XLE
15-44 HXL
15-38 HXL
14-38 HXL
14-38 XL
13-38 HXL
13-38 XL
13-32 XLE
12-38 HXL
12-38 XL
12-32 XL
264 H
265 H
267 H
268 H
270 H
520 xi
520 Lxi
523 Dxi
Rider
Mähwerke
Zubehör
Handgeräte
Robin
Impressum
(C) by motoruf