Kawasaki Motoren FH641V - DS25 bis FS481V - BS13 FS481V-AS21 - Kawasaki FS481V 4-Stroke Engine CONTROL-EQUIPMENT Ersatzteile
CONTROL-EQUIPMENT FS481V-AS21 - Kawasaki FS481V 4-Stroke Engine

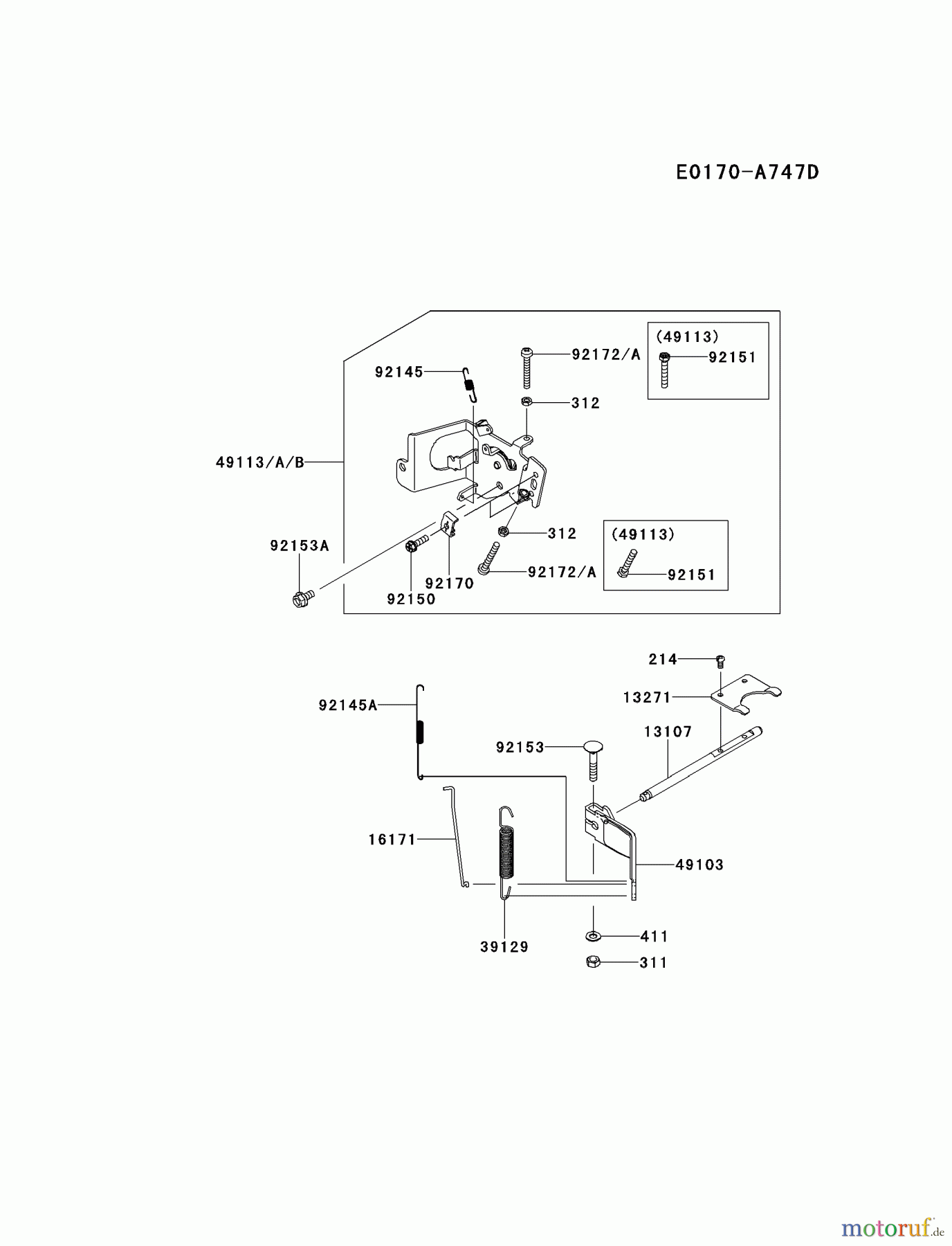
Hier finden Sie die Ersatzteilzeichnung für Kawasaki Motoren Motoren Vertikal FH641V - DS25 bis FS481V - BS13 FS481V-AS21 - Kawasaki FS481V 4-Stroke Engine CONTROL-EQUIPMENT. Wählen Sie das benötigte Ersatzteil aus der Ersatzteilliste Ihres Kawasaki Motoren Gerätes aus und bestellen Sie einfach online. Viele Kawasaki Motoren Ersatzteile halten wir ständig in unserem Lager für Sie bereit.
| BildNr | Artikel Nummer | Bezeichnung | |
| 13107 | KA131077049 | SHAFT | |
| 13271 | KA132717038 | PLATE | |
| 16171 | KA161717025 | LINK | |
| 39129 | KA391290725 | SPRING-GOVERNOR | |
| 49103 | KA491037017 | ARM-GOVERNOR | |
| 49113 | KA491130725 | PANEL-COMP-CONTROL | |
| 49113B | KA491130725 | PANEL-COMP-CONTROL | |
| 92145 | KA921457032 | SPRING | |
| 92145A | KA921457057 | SPRING | |
| 92150 | ![]() | KA921502182 | BOLT |
| 92151 | KA921517014 | BOLT,5X30 | |
| 92153 | KA921537033 | BOLT,6X35 | |
| 92153A | KA921537043 | BOLT,6X12 | |
| 92170 | KA921707001 | CLAMP | |
| 92172A | KA921720792 | SCREW | |
| 214 | KA214AA0408 | SCREW-PAN+- | |
| 311 | KA311BA0600 | ||
| 312 | KA312AA0500 | NUT-HEX | |
| 411 | KA411AA0600 | WASHER-PLAIN | |


Qualitätsmanagement
Informieren Sie uns, wenn Sie einen Fehler gefunden haben.


