Einstellungen Computer

Kettenkonfigurator

Sägeketten Profibestellfunktion

Am einfachsten gehts mit unserer 1 2 3 Bestellfunktion, wählen Sie einfach den Hersteller, den Typ und dann die passende Kette aus.

Sollte Ihr Sägemodell in der Herstellerliste nicht aufgeführt sein, können Sie den Typ Ihrer Kette nach folgendem Schema bestimmen:

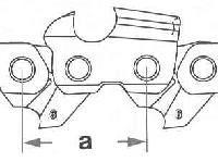
Teilung

Teilung Ihrer Sägekette:

Zur Ermittelung der Teilung misst man den Abstand von der Mitte eines Nietbolzens bis zur Mitte des Übernächsten und teilt dieses Maß durch zwei. (Das Messen über zwei Nietbolzen ist deshalb notwendig weil die Bohrungsabstände bei Treibgliedern und Schneidezähnen bzw. Verbindungsgliedern unterschiedlich groß sind.) Das Ergebnis ist die Teilung in Millimeter, die nach internationalem Brauch in Zoll angegeben wird.
Treibgliedstärke

Treibgliedstärke:

Bei 3/8 Hobbyketten sind 1,3 mm und seltener auch 1,1 mm möglich. Bei .325 und 3/8 sind 1,3 mm, 1,5 mm und 1,6 mm möglich (1,6 mm für Stihl).

Anzahl der Treibglieder

Zählen Sie nun die Treibglieder Ihrer Originalkette.

Typ der Säge:

Bankeinzug, MasterCard, Visa, American Express, PayPal, Nachnahme, Vorauskasse, Sofortüberweisung
Datenschutzerklärung Impressum
Qualitätsmanagement
Informieren Sie uns, wenn Sie einen Fehler gefunden haben.