Kawasaki Motoren FD501D-AS05 - Kawasaki FD501D 4-Stroke Engine AIR-FILTER/MUFFLER Ersatzteile
AIR-FILTER/MUFFLER FD501D-AS05 - Kawasaki FD501D 4-Stroke Engine

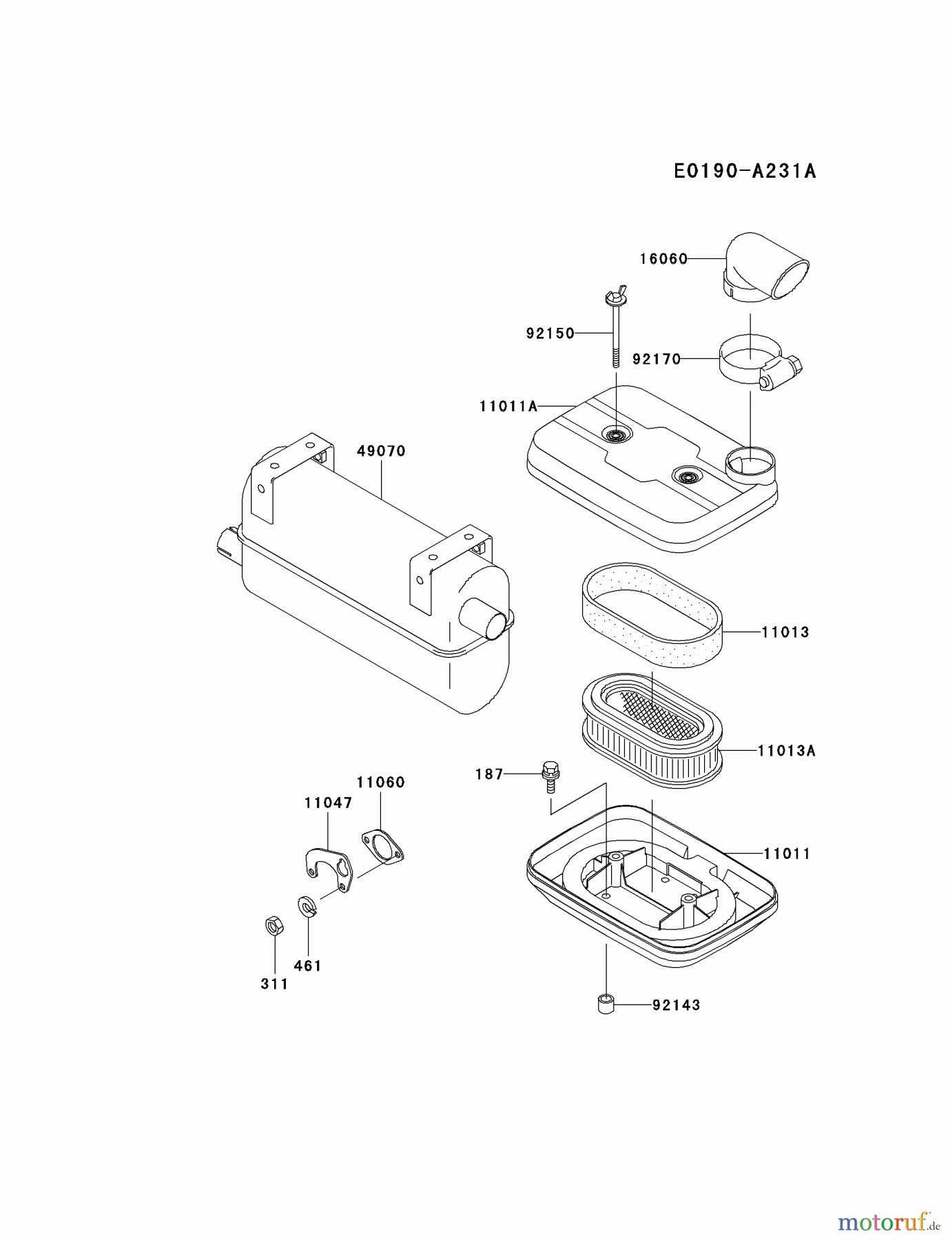
Hier finden Sie die Ersatzteilzeichnung für Kawasaki Motoren Motoren, Horizontal FD501D-AS05 - Kawasaki FD501D 4-Stroke Engine AIR-FILTER/MUFFLER. Wählen Sie das benötigte Ersatzteil aus der Ersatzteilliste Ihres Kawasaki Motoren Gerätes aus und bestellen Sie einfach online. Viele Kawasaki Motoren Ersatzteile halten wir ständig in unserem Lager für Sie bereit.
| BildNr | Artikel Nummer | Bezeichnung | |
| 11011 | KA110112253 | LUFTFILTERGEHAEUSE | |
| 11011A | KA110112254 | CASE-AIR FILTER | |
| 11013 | KA110132161 | ELEMENT-AIR FILTER | |
| 11013A | KA110132207 | ELEMENT-AIR FILTER | |
| 11047 | KA1104720579H | HALTER | |
| 11060 | ![]() | KA110602079 | GASKET,EXHAUST PIPE |
| 16060 | KA160602185 | PIPE-INTAKE | |
| 49070 | KA4907026399Y | MUFFLER-COMP | |
| 92143 | KA921431336 | COLLAR,5.6X8X6 | |
| 92150 | KA921502285 | BOLT | |
| 92170 | KA921702075 | CLAMP | |
| 187 | KA187AA0520 | BOLT-UPSET-WSP | |
| 311 | KA311BA0600 | ||
| 461 | KA461DA0600 | WASHER-SPRING | |




