Kawasaki Motoren FA210D-AS23 - Kawasaki FA210D 4-Stroke Engine CARBURETOR Ersatzteile
CARBURETOR FA210D-AS23 - Kawasaki FA210D 4-Stroke Engine

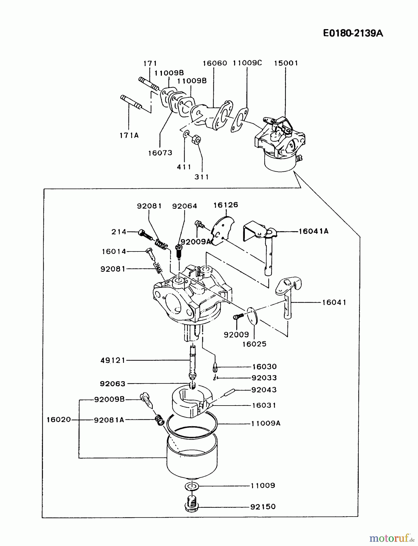
Hier finden Sie die Ersatzteilzeichnung für Kawasaki Motoren Motoren, Horizontal FA210D-AS23 - Kawasaki FA210D 4-Stroke Engine CARBURETOR. Wählen Sie das benötigte Ersatzteil aus der Ersatzteilliste Ihres Kawasaki Motoren Gerätes aus und bestellen Sie einfach online. Viele Kawasaki Motoren Ersatzteile halten wir ständig in unserem Lager für Sie bereit.
| BildNr | Artikel Nummer | Bezeichnung | |
| 11009 | KA110092036 | DICHTUNG BENZINSTANDSMESSER | |
| 11009A | ![]() | KA110092037 | GASKET |
| 11009B | KA110092187 | DICHTUNG | |
| 11009C | KA110602031 | DICHTUNG BENZINSTANDSMESSER | |
| 15001 | KA150032323 | CARBURETOR-ASSY. | |
| 16014 | KA160142004 | SCREW-PILOT AIR | |
| 16020 | KA160202052 | CHAMBER-FLOAT | |
| 16025 | KA160252130 | VALVE-THROTTLE,#130 | |
| 16030 | KA160302016 | VALVE-FLOAT | |
| 16031 | KA160312062 | FLOAT | |
| 16041 | KA160412091 | SHAFT,CARBURETOR,THRO | |
| 16041A | KA160412152 | SHAFT-CARBURETOR,CHOK | |
| 16060 | KA160602067 | PIPE-INTAKE | |
| 16073 | KA160732060 | INSULATOR | |
| 16126 | KA161262117 | VALVE,CHOKE | |
| 49121 | KA491212123 | NOZZLE-MAIN,#18B | |
| 92009 | KA920092024 | SCREW | |
| 92009A | ![]() | KA920092081 | SCREW |
| 92009B | KA920092015 | SCREW | |
| 92033 | KA920332067 | RING-SNAP | |
| 92043 | KA920432006 | PIN | |
| 92063 | KA920632389 | JET-MAIN,#77.5 | |
| 92064 | KA920642001 | JET-PILOT | |
| 92081 | KA920812008 | SPRING | |
| 92081A | KA920812009 | SPRING | |
| 92150 | KA921502098 | BOLT | |
| 171 | KA171BA0622 | BOLT-STUD | |
| 171A | KA171BA0635 | BOLT-STUD | |
| 214 | KA214AA0414 | SCREW-PAN+- | |
| 311 | KA311AA0600 | NUT-HEX | |
| 411 | KA411AA0600 | WASHER-PLAIN | |





