Einstellungen Computer

Bibermax BM 300 B 24A-7332651 (2000) Ersatzteile

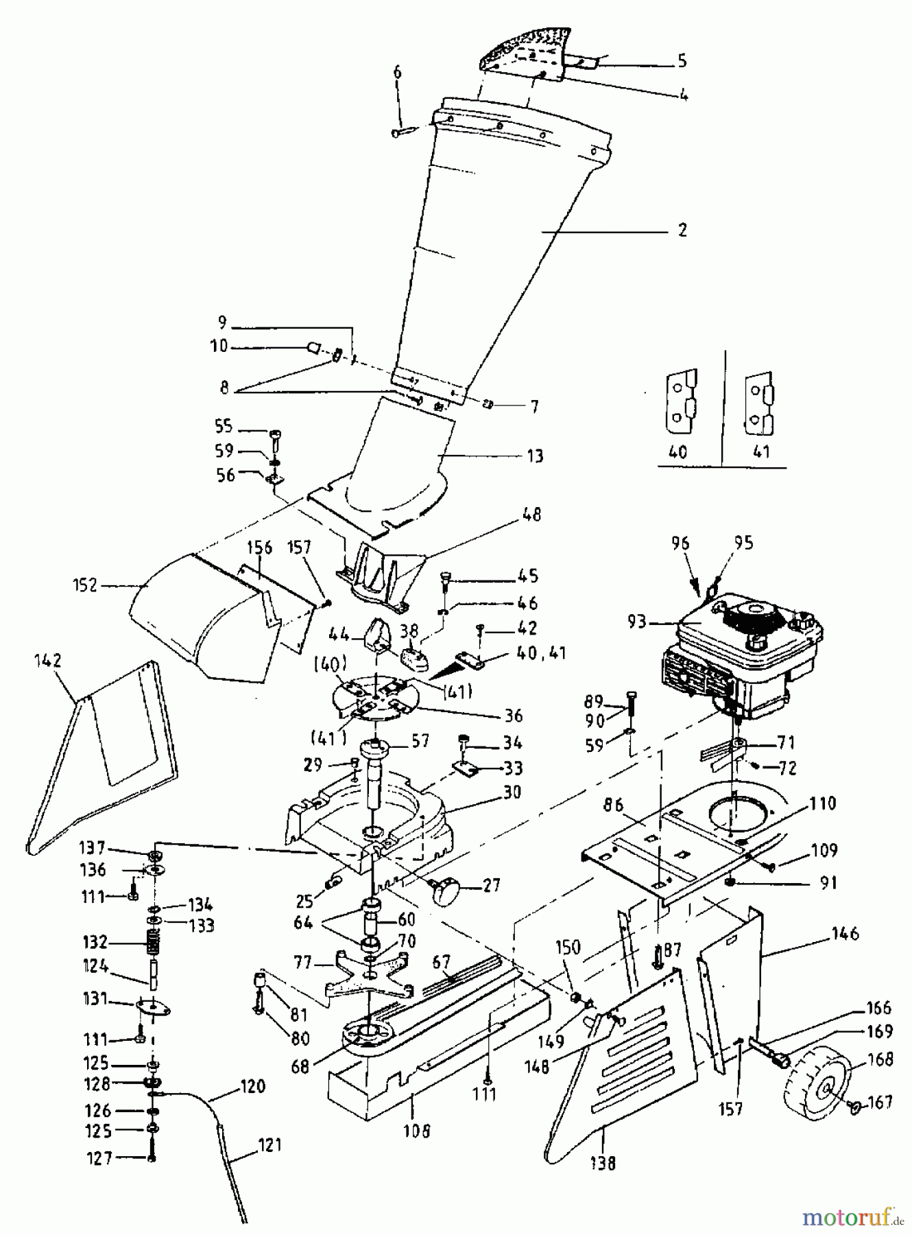
24A-7332651 (2000) BM 300 B

 Bibermax Häcksler BM 300 B 24A-7332651  (2000) Grundgerät

Hier finden Sie die Ersatzteilzeichnung für Bibermax Häcksler BM 300 B 24A-7332651 (2000) Grundgerät. Wählen Sie das benötigte Ersatzteil aus der Ersatzteilliste Ihres Bibermax Gerätes aus und bestellen Sie einfach online. Viele Bibermax Ersatzteile halten wir ständig in unserem Lager für Sie bereit.

BildNrArtikel NummerBezeichnung
2 0794024KUNSTSTOFFTRICHTER
4 0794040SPLITTERSCHUTZECK HM 3000
5 0794057KLEMMLEISTE HM 3000
6 0781351BLINDNIET 5X10 SETZKOPF 11mm
7 0794073POLYAMID SNIP U.SNAP NIET
8 22.3419.11FLACHRD-SCHR.M 4KT-ANSDIN 603
8A 24.1421.14SECHSKANTMUTTER DIN 934
9 24.6487.18SCHEIBE DIN 7349
10 0794107RADOLID-KAPPE SW10-1G11/H5
13 7821168TRICHTER-UNTERTEIL SCHWEIßTEIL
25 0794255QUERGEWINDEBOLZEN Q 8X25/12.5
27 0794271STERNGRIFFSCHRAUBE M 8 x 28
29 0794297VERSCHLUßSTOPFEN TYP V
30 0794302ANTRIEBSGEHÄUSE BM300b
33 0794339SCHARNIERBLECH BM 300
34 23.5422.13LINSEN-SCHR. ANSDIN 7985
36 7821036MESSERTRÄGER BM 300
38 0794388VORZERKLEINERER-EINSATZ BM 300
40 Bibermax WELLENMESSER 1 BM 3000790084WELLENMESSER 1 BM 300
41 Bibermax WELLENMESSER 2 (FLACHMESSER)0790085WELLENMESSER 2 (FLACHMESSER)
42 22.1418.68SENKSCHRAUBE M.SCHLITZDIN 963
44 7821044VORZERKLEINERER HM 3000/BM 300
45 0794453SECHSKANTSCHR.M8x40 8.8 DIN601
46 24.8196.18FEDERRING DIN 7980
48 0794487GEGENSCHNEIDE BM 300
55 21.5441.46ZYLINDER-SCHR.M.INNEN6DIN 912
56 0794560UNTERLEGPLATTE BM 300
57 738-1036MESSERWELLE
59 24.6481.18SCHEIBE DIN 125
60 0794600DISTANZROHR BM 300 b
64 0794644RILLENKUGELLAGER
67 0794678POLY-V-RIPPENB.PJ1143/450J12
68 756-1047RIEMENSCHEIBE
70 0797746STÜTZSCHEIBE ss 25X35X2 DIN988
71 0794710KEILRIPPENSCHEIBE BM 300 b
72 0794720GEWINDESTIFT M6x12-45H LG.
77 0794777LAGERSCHILD BM 300 b
80 0794801M6 SF TT,DOCROMET 500/od.VERZ.
81 0794811ZENTRIERBUCHSE BM 300 b
86 781-0842637MOTORTRÄGER
87 0794875M6 SF TT,DOCROMET 500/od.VERZ.
89 710-13706kt.-SCHR. M8x35-4.6 DIN 558
90 0794902SKT.SCHRAUBE M8x60 DIN 558
91 24.1426.18SICHERUNGSMUTTER DIN 985-8
93 752B1926E1BENZINMOTOR B&S QUANTUM XM 60
95 0799630HEBEL Z 35801
96 0799680SCHEIBENFEDER
108 0795089RIEMENSCHUTZ
109 23.5422.11LINSEN-SCHR.M.KREUZSCHLITZ
110 0795100KÄFIGMUTTER M6 2 mm
111 23.5421.91LINSENSCHR.M.KREUTZSCHDIN 7985
120 0799825SCHALTLITZE BM 300/500 b
121 0799833ISOLIERSCHL. REHAU/RAU-PVC9248
124 0795240SCHALTSTANGE BM 300 b
125 0799791ISOLIERBUCHSE IB 9
126 24.8498.64FEDERSCHEIBE
127 0799817LINSENSCHR.MRX-TT 4X16 fzb
128 736-0666SCHEIBE
131 0795310FÜHRUNGSSCHEIBE
132 0798769DRUCKFEDER BM 500/3000
133 24.6273.23PASS- & STÜTZSCHEIBE DIN 988
134 28.3591.08SICHERUNGSRING DIN 471
136 0795369DECKSCHEIBE BM 300
137 0795377FILZRING BM 300
138 0795381GEHÄUSETEIL RECHTS
142 0795422GEHÄUSETEIL LINKS
146 0795469GEHÄUSERÜCKENTEIL BM 300 b
148 22.3419.11FLACHRD-SCHR.M 4KT-ANSDIN 603
149 24.6481.14SCHEIBE A 6,4 DIN 125-St
150 24.1421.14SECHSKANTMUTTER DIN 934
152 0795526AUSWURFSCHACHT BM 300
156 0795567RÜCKWAND BM 300
157 0781351BLINDNIET 5X10 SETZKOPF 11mm
166 738-1040FAHRGESTELLACHSE
167 0795670ACHSENKLEMMKAPPE D 14 ST VERZ.
168 0795680LAUFRAD 250/14 NABENDURCHM.
169 0795691RADDISTANZBUCHSE BM 300 b
Rasen
Bankeinzug, MasterCard, Visa, American Express, PayPal, Nachnahme, Vorauskasse, Sofortüberweisung
Datenschutzerklärung Impressum
Qualitätsmanagement
Informieren Sie uns, wenn Sie einen Fehler gefunden haben.