Wolf-Garten B 46 TB 4602000 (2001) Messer, Messeraufnahme, Motor Ersatzteile
Messer, Messeraufnahme, Motor 4602000 (2001)

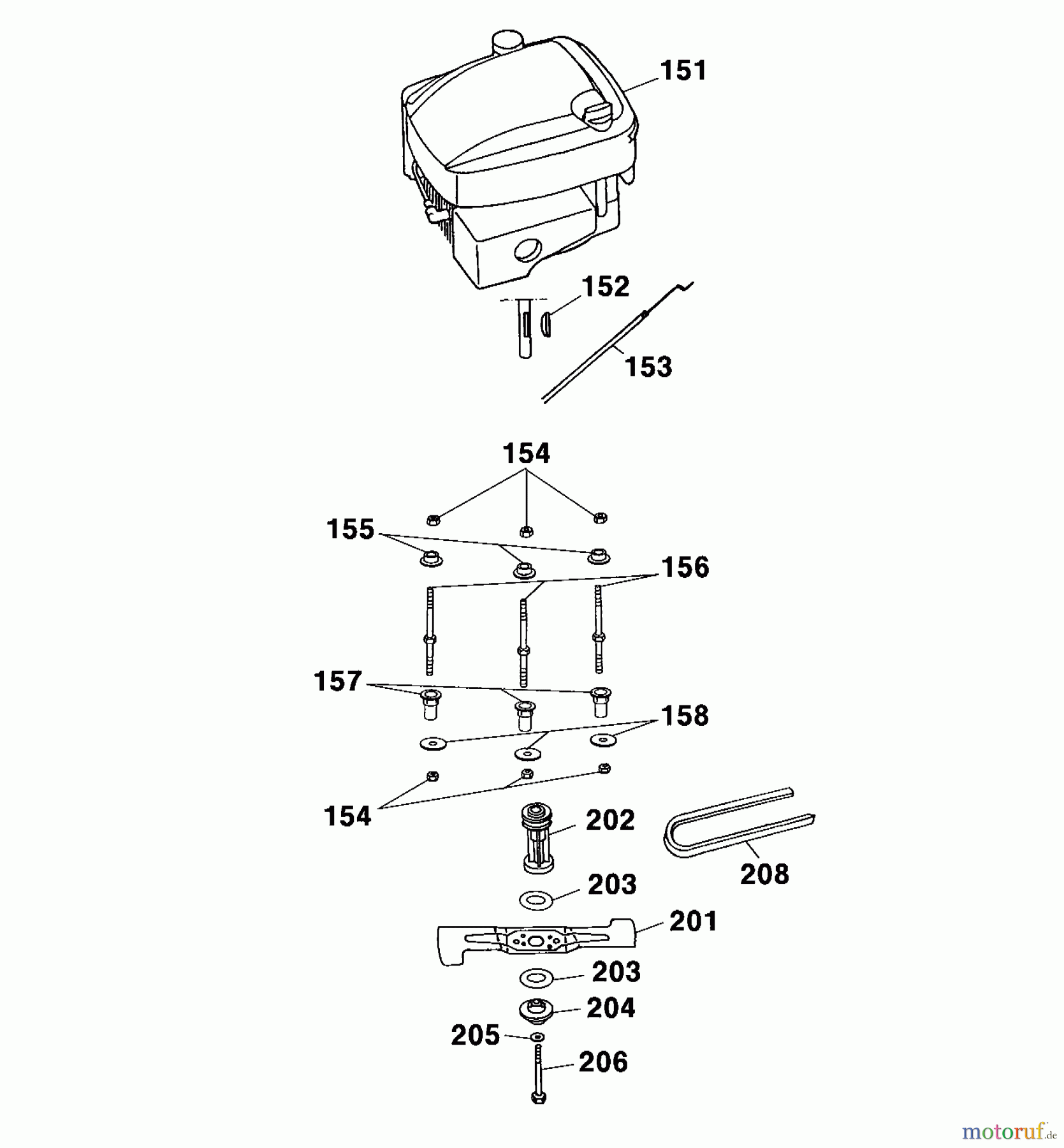
Hier finden Sie die Ersatzteilzeichnung für Wolf-Garten Motormäher B 46 TB 4602000 (2001) Messer, Messeraufnahme, Motor. Wählen Sie das benötigte Ersatzteil aus der Ersatzteilliste Ihres Wolf-Garten Gerätes aus und bestellen Sie einfach online. Viele Wolf-Garten Ersatzteile halten wir ständig in unserem Lager für Sie bereit.


Qualitätsmanagement
Informieren Sie uns, wenn Sie einen Fehler gefunden haben.



