Wolf-Garten Power Edition 34 E 4924003 Serie B (2007) Messer, Messeraufnahme, Motor Ersatzteile
Messer, Messeraufnahme, Motor 4924003 Serie B (2007)

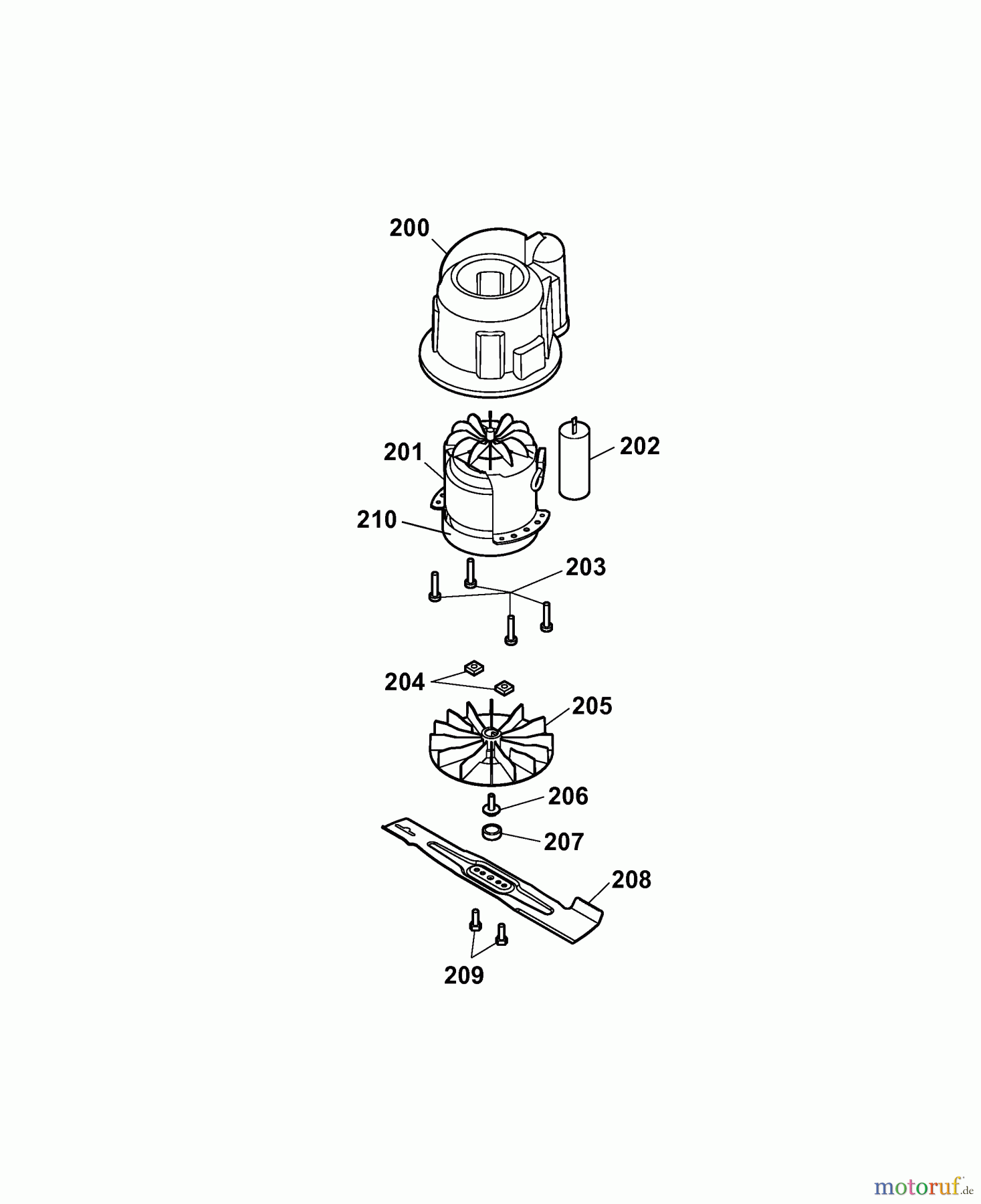
Hier finden Sie die Ersatzteilzeichnung für Wolf-Garten Elektromäher Power Edition 34 E 4924003 Serie B (2007) Messer, Messeraufnahme, Motor. Wählen Sie das benötigte Ersatzteil aus der Ersatzteilliste Ihres Wolf-Garten Gerätes aus und bestellen Sie einfach online. Viele Wolf-Garten Ersatzteile halten wir ständig in unserem Lager für Sie bereit.





