Wolf-Garten Compact plus 37 E 4907003 Serie G (2010) Messer, Messeraufnahme, Motor Ersatzteile
Messer, Messeraufnahme, Motor 4907003 Serie G (2010)

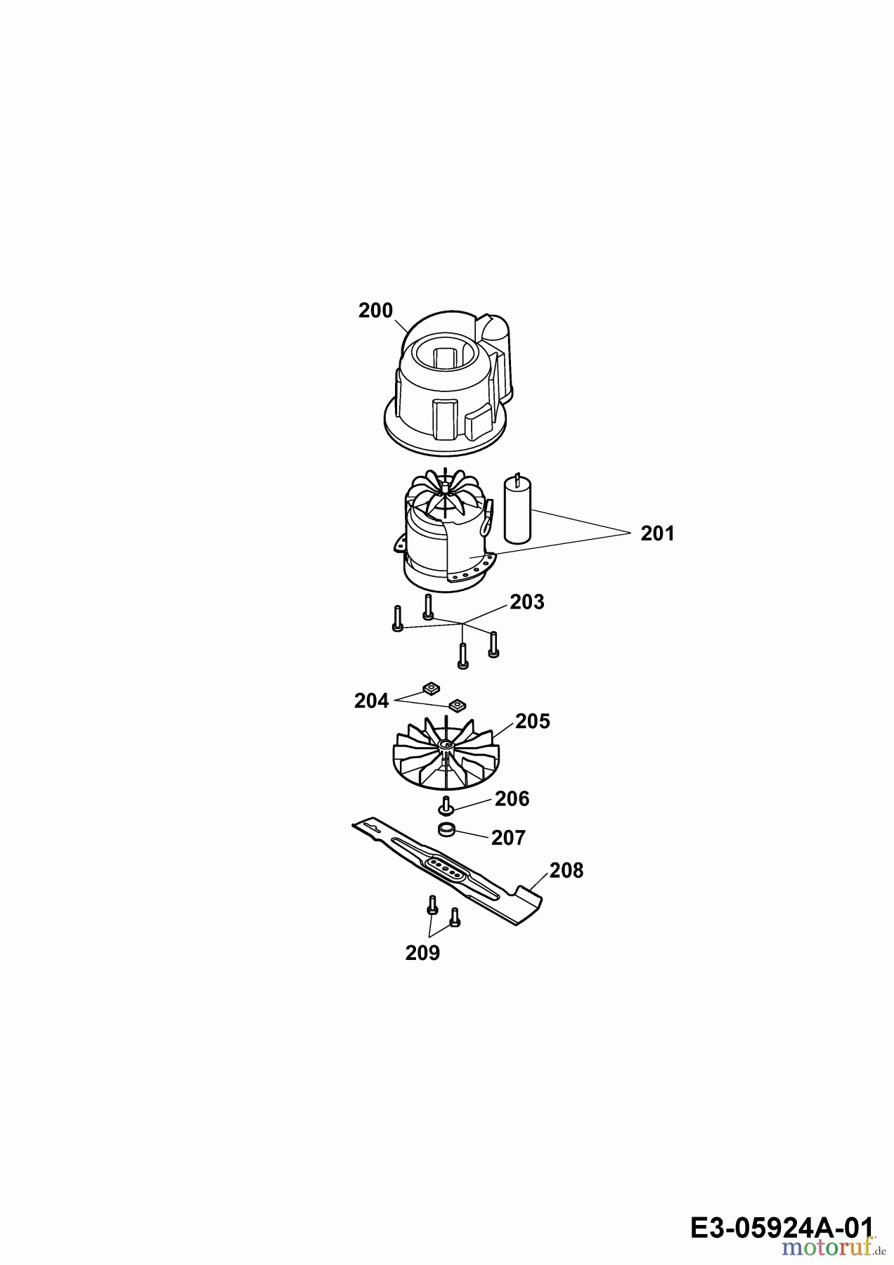
Hier finden Sie die Ersatzteilzeichnung für Wolf-Garten Elektromäher Compact plus 37 E 4907003 Serie G (2010) Messer, Messeraufnahme, Motor. Wählen Sie das benötigte Ersatzteil aus der Ersatzteilliste Ihres Wolf-Garten Gerätes aus und bestellen Sie einfach online. Viele Wolf-Garten Ersatzteile halten wir ständig in unserem Lager für Sie bereit.



