Wolf-Garten Compact plus 32 E 4913000 Serie E (2010) Messer, Messeraufnahme, Motor Ersatzteile
Messer, Messeraufnahme, Motor 4913000 Serie E (2010)

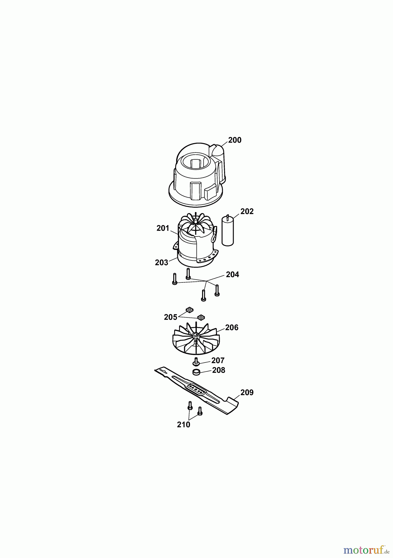
Hier finden Sie die Ersatzteilzeichnung für Wolf-Garten Elektromäher Compact plus 32 E 4913000 Serie E (2010) Messer, Messeraufnahme, Motor. Wählen Sie das benötigte Ersatzteil aus der Ersatzteilliste Ihres Wolf-Garten Gerätes aus und bestellen Sie einfach online. Viele Wolf-Garten Ersatzteile halten wir ständig in unserem Lager für Sie bereit.


Qualitätsmanagement
Informieren Sie uns, wenn Sie einen Fehler gefunden haben.


