Wolf-Garten 2.37 E 4917000 Serie H (2010) Grasfangsack Ersatzteile
Grasfangsack 4917000 Serie H (2010)

Hier finden Sie die Ersatzteilzeichnung für Wolf-Garten Elektromäher 2.37 E 4917000 Serie H (2010) Grasfangsack. Wählen Sie das benötigte Ersatzteil aus der Ersatzteilliste Ihres Wolf-Garten Gerätes aus und bestellen Sie einfach online. Viele Wolf-Garten Ersatzteile halten wir ständig in unserem Lager für Sie bereit.
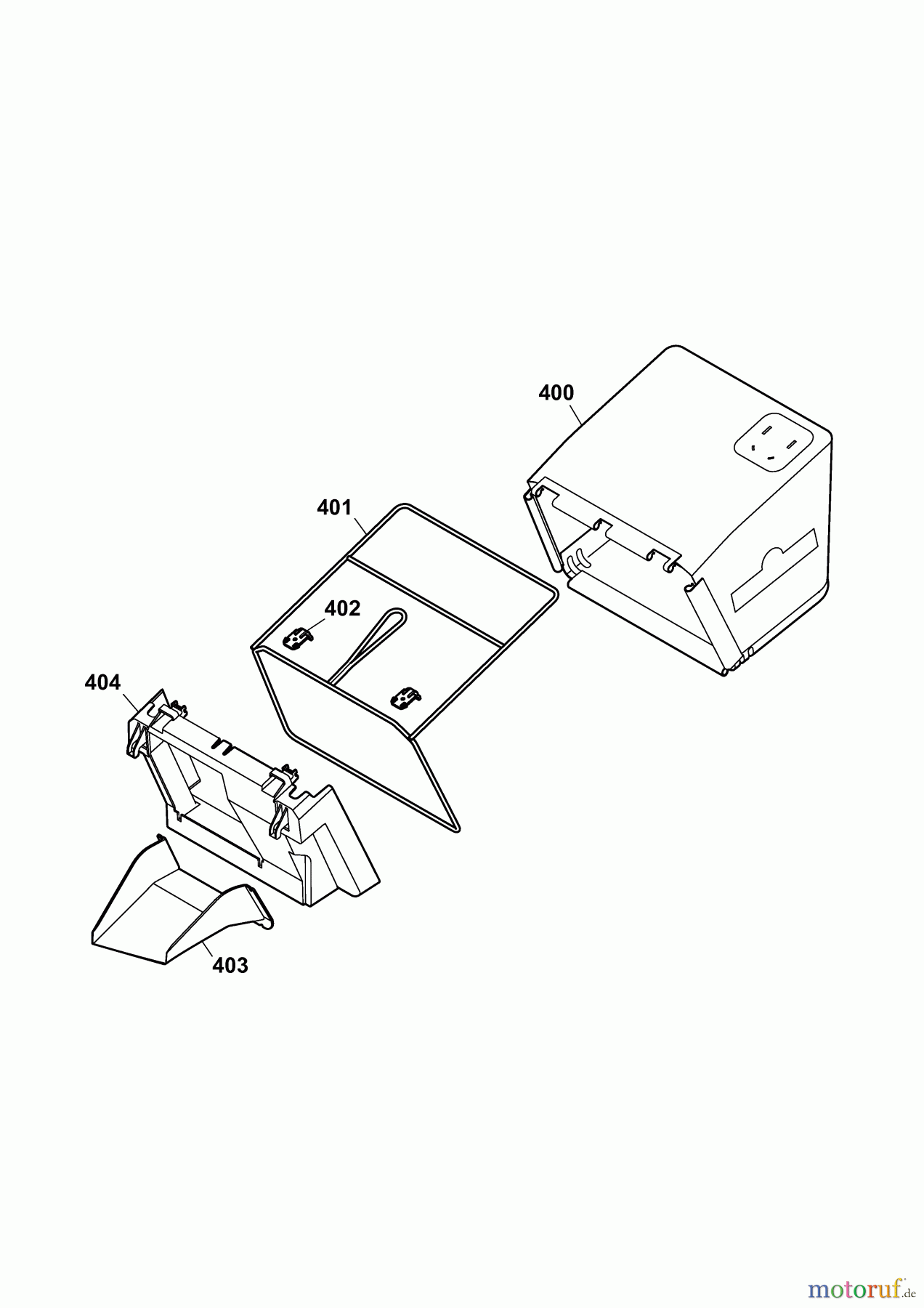
| BildNr | Artikel Nummer | Bezeichnung | |
| 400 | 4917335 | Fangsacktuch 2.37E (ohne Rastp | |
| 401 | 4907034 | Fangsackgestell kpl.-lackiert | |
| 402 | 4921309 | Sicherungsriegel schwarz | |
| 403 | 4907312 | Schütte 37E | |
| 404 | 4907310 | Mundstück 37er rot (RAL3000) | |


Qualitätsmanagement
Informieren Sie uns, wenn Sie einen Fehler gefunden haben.

