Cub Cadet LS 27 24BG5HM5710 (2014) Öltank Ersatzteile
Öltank 24BG5HM5710 (2014)

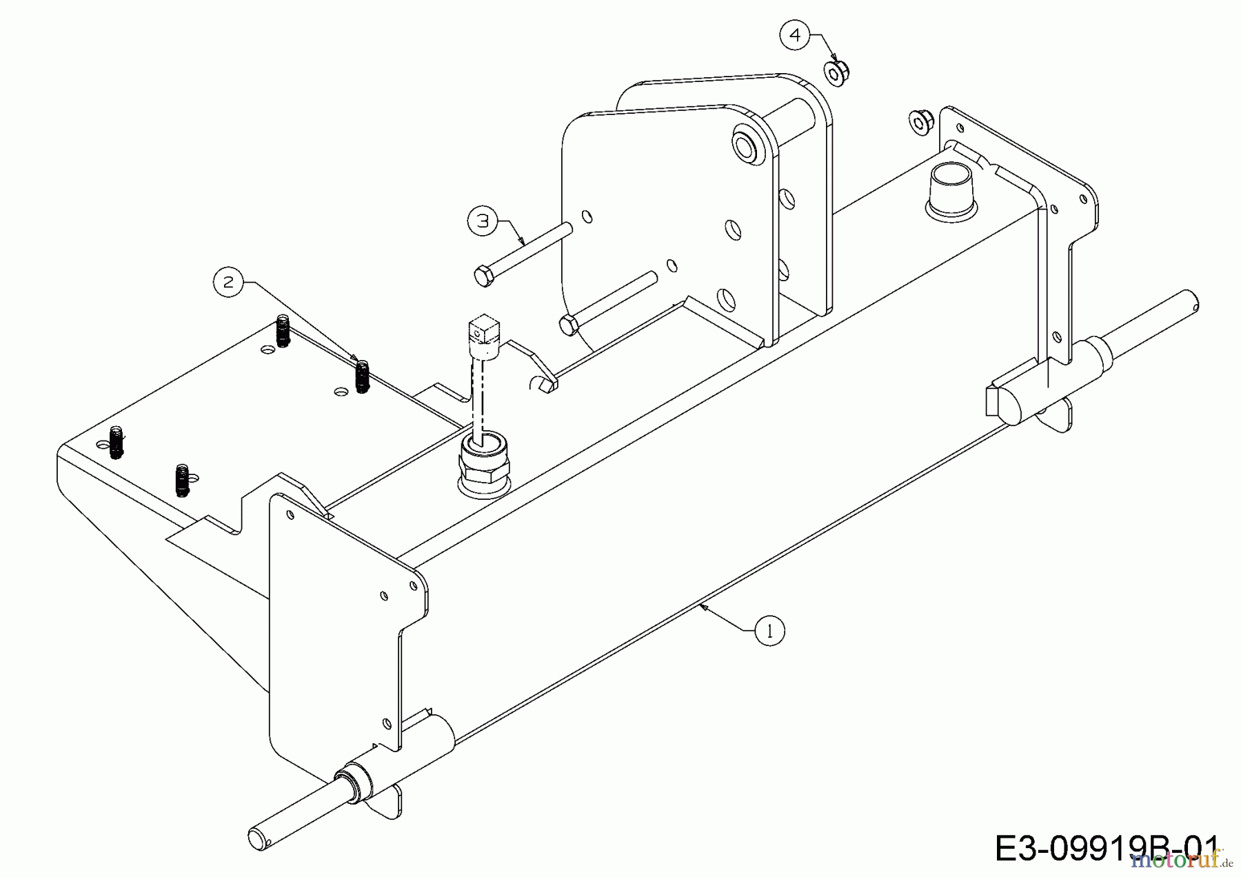
Hier finden Sie die Ersatzteilzeichnung für Cub Cadet Holzspalter LS 27 24BG5HM5710 (2014) Öltank. Wählen Sie das benötigte Ersatzteil aus der Ersatzteilliste Ihres Cub Cadet Gerätes aus und bestellen Sie einfach online. Viele Cub Cadet Ersatzteile halten wir ständig in unserem Lager für Sie bereit.
| BildNr | Artikel Nummer | Bezeichnung | |
| 1 | 681-04148 | ||
| 2 | 710-04683B | 6KT-SCHRAUBE:3/8-16:1.000 | |
| 3 | ![]() | 710-3085 | 6KT-SCHR:3/8-16:3.50:GR5:STD |
| 4 | ![]() | 712-04065 | S-6KT-BUNDMUTTER 3/8-16:NYLON |


Qualitätsmanagement
Informieren Sie uns, wenn Sie einen Fehler gefunden haben.



