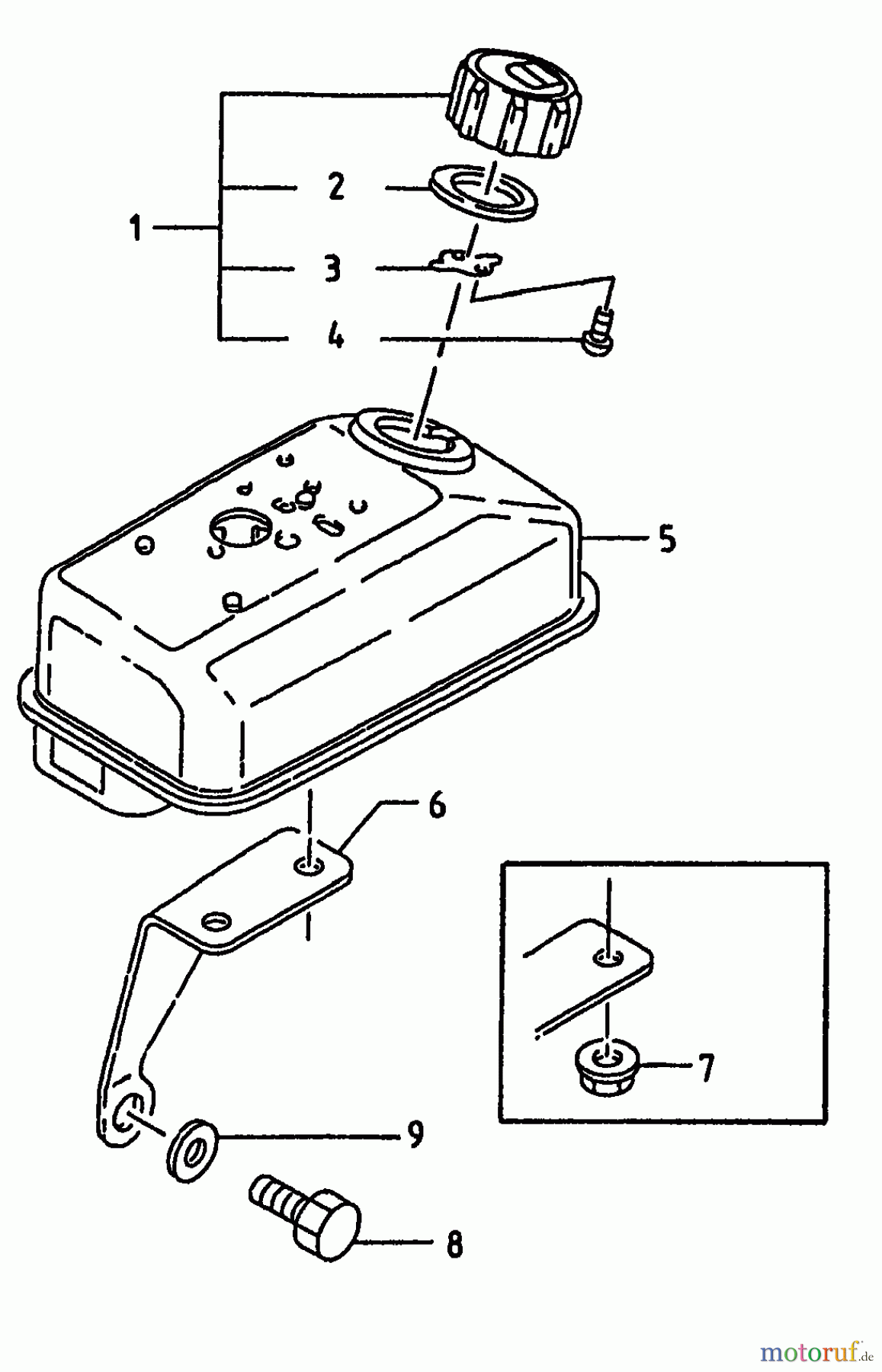
Gutbrod MB 62-52 K 07518.03 (1996) Tank Ersatzteile
Tank 07518.03 (1996)

Hier finden Sie die Ersatzteilzeichnung für Gutbrod Motorhacken MB 62-52 K 07518.03 (1996) Tank. Wählen Sie das benötigte Ersatzteil aus der Ersatzteilliste Ihres Gutbrod Gerätes aus und bestellen Sie einfach online. Viele Gutbrod Ersatzteile halten wir ständig in unserem Lager für Sie bereit.
| BildNr | Artikel Nummer | Bezeichnung | |
| 1 | 092.38.319 | TANKDECKEL | |
| 2 | 092.38.306 | DICHTUNG | |
| 3 | 092.38.309 | DECKELFEDER | |
| 4 | 090.50.727 | SCHRAUBE | |
| 5 | 092.38.318 | KRAFTSTOFFTANK | |
| 6 | 092.38.382 | HALTER | |
| 7 | 092.38.383 | MUTTER | |
| 8 | 092.38.385 | SCHRAUBE | |
| 9 | 092.38.384 | SCHEIBE | |



