Toro 38674 (1028 OXE) - Power Max Heavy Duty 1028 OXE Snowthrower, 2013 (SN 313000001-312999999) HANDLE AND CONTROL ASSEMBLY Ersatzteile
HANDLE AND CONTROL ASSEMBLY 38674 (1028 OXE) - Toro Power Max Heavy Duty 1028 OXE Snowthrower, 2013 (SN 313000001-312999999)

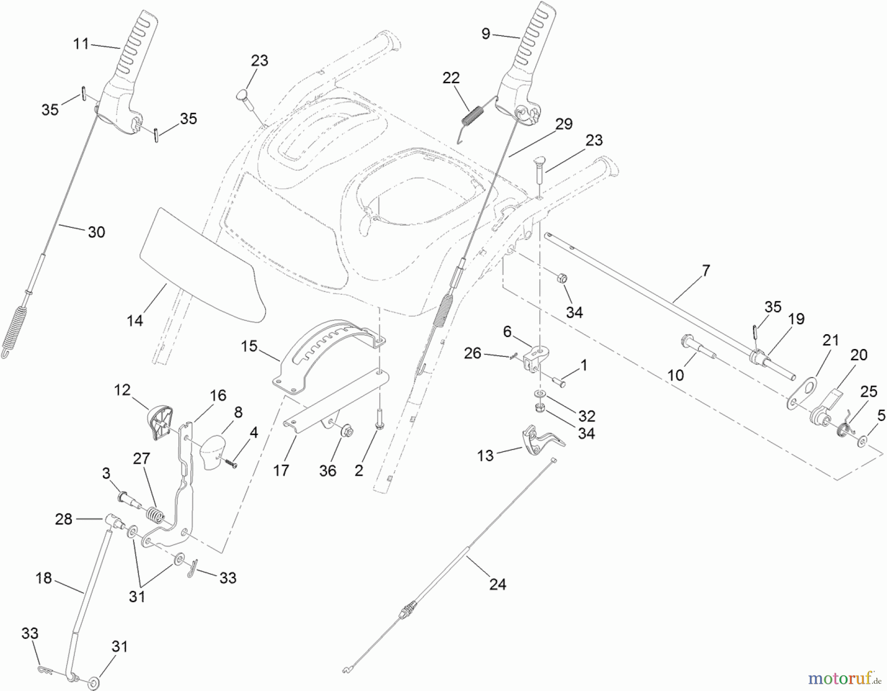
Hier finden Sie die Ersatzteilzeichnung für Toro Neu Snow Blowers/Snow Throwers Seite 2 38674 (1028 OXE) - Toro Power Max Heavy Duty 1028 OXE Snowthrower, 2013 (SN 313000001-312999999) HANDLE AND CONTROL ASSEMBLY. Wählen Sie das benötigte Ersatzteil aus der Ersatzteilliste Ihres Toro Gerätes aus und bestellen Sie einfach online. Viele Toro Ersatzteile halten wir ständig in unserem Lager für Sie bereit.


Qualitätsmanagement
Informieren Sie uns, wenn Sie einen Fehler gefunden haben.


