Toro 38629 (826 OE) - Power Max 826 OE Snowthrower, 2008 (280000001-280999999) ENGINE ASSEMBLY Ersatzteile
ENGINE ASSEMBLY 38629 (826 OE) - Toro Power Max 826 OE Snowthrower, 2008 (280000001-280999999)

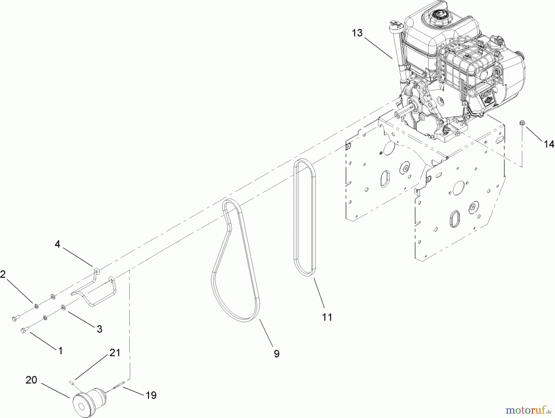
Hier finden Sie die Ersatzteilzeichnung für Toro Neu Snow Blowers/Snow Throwers Seite 2 38629 (826 OE) - Toro Power Max 826 OE Snowthrower, 2008 (280000001-280999999) ENGINE ASSEMBLY. Wählen Sie das benötigte Ersatzteil aus der Ersatzteilliste Ihres Toro Gerätes aus und bestellen Sie einfach online. Viele Toro Ersatzteile halten wir ständig in unserem Lager für Sie bereit.
| BildNr | Artikel Nummer | Bezeichnung | |
| 1 | TR3210-3 | Schraube | |
| 2 | TR3253-4 | Federring | |
| 3 | TR3256-23 | Scheibe | |
| 4 | TR107-3835 | Riemenfuehrung | |
| 9 | TR106-4498 | KEILRIEMEN-RAEUMSCHNECKE | |
| 11 | TR94-8812 | Keilriemen | |
| 13 | TR | ||
| 14 | ![]() | TR32128-20 | Mutter |
| 19 | TR7-0036 | KEY-SQUARE | |
| 20 | TR114-9252 | PULLEY-ENGINE | |
| 21 | TR3245-9 | Schraube | |


Qualitätsmanagement
Informieren Sie uns, wenn Sie einen Fehler gefunden haben.


