Toro 38606 (622R) - 622R Power Throw Snowthrower, 2008 (280000001-280999999) CARBURETOR ASSEMBLY NO. 640058A TECUMSEH OH195SA-72566G Ersatzteile
CARBURETOR ASSEMBLY NO. 640058A TECUMSEH OH195SA-72566G 38606 (622R) - Toro 622R Power Throw Snowthrower, 2008 (280000001-280999999)

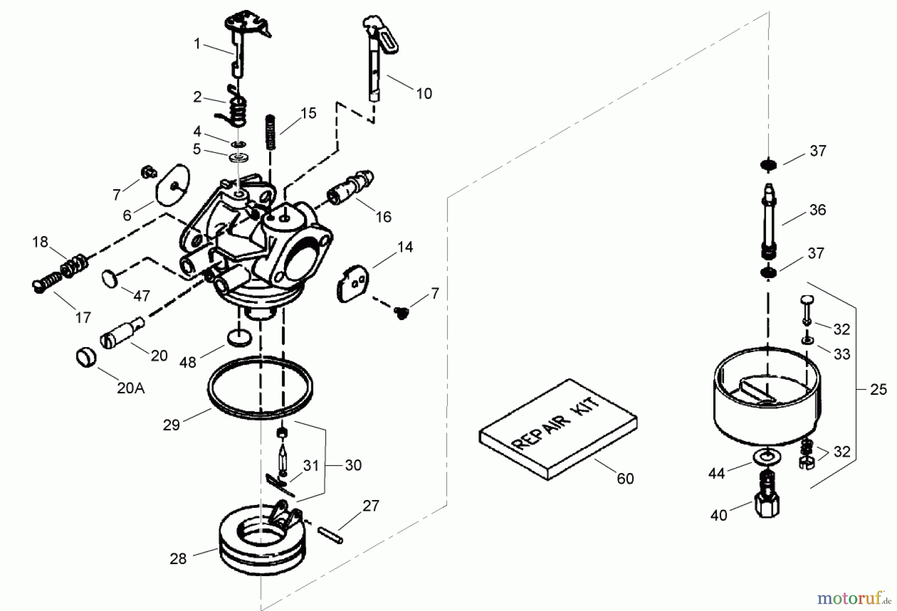
Hier finden Sie die Ersatzteilzeichnung für Toro Neu Snow Blowers/Snow Throwers Seite 2 38606 (622R) - Toro 622R Power Throw Snowthrower, 2008 (280000001-280999999) CARBURETOR ASSEMBLY NO. 640058A TECUMSEH OH195SA-72566G. Wählen Sie das benötigte Ersatzteil aus der Ersatzteilliste Ihres Toro Gerätes aus und bestellen Sie einfach online. Viele Toro Ersatzteile halten wir ständig in unserem Lager für Sie bereit.






