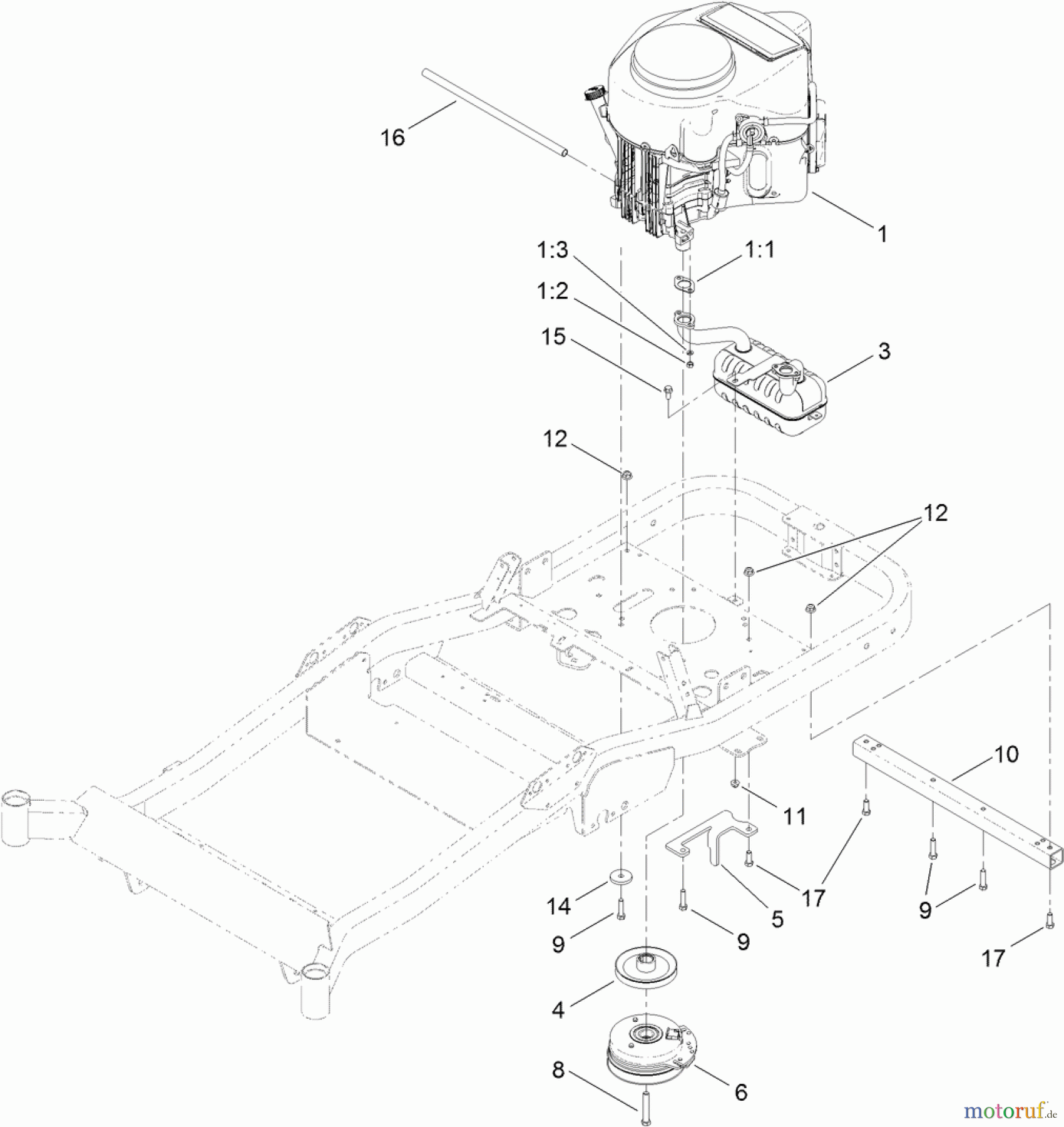
Toro 74843 (ZX6020) - TITAN ZX6020 Zero-Turn-Radius Riding Mower, 2011 (311000001-311999999) ENGINE, MUFFLER AND CLUTCH ASSEMBLY Ersatzteile
ENGINE, MUFFLER AND CLUTCH ASSEMBLY 74843 (ZX6020) - Toro TITAN ZX6020 Zero-Turn-Radius Riding Mower, 2011 (311000001-311999999)

Hier finden Sie die Ersatzteilzeichnung für Toro Neu Mowers, Zero-Turn 74843 (ZX6020) - Toro TITAN ZX6020 Zero-Turn-Radius Riding Mower, 2011 (311000001-311999999) ENGINE, MUFFLER AND CLUTCH ASSEMBLY. Wählen Sie das benötigte Ersatzteil aus der Ersatzteilliste Ihres Toro Gerätes aus und bestellen Sie einfach online. Viele Toro Ersatzteile halten wir ständig in unserem Lager für Sie bereit.


