Toro 74813 (Z4800) - TITAN Z4800 Zero-Turn-Radius Riding Mower, 2009 (290000001-290999999) FUEL SYSTEM ASSEMBLY KOHLER SV820-0013 Ersatzteile
FUEL SYSTEM ASSEMBLY KOHLER SV820-0013 74813 (Z4800) - Toro TITAN Z4800 Zero-Turn-Radius Riding Mower, 2009 (290000001-290999999)

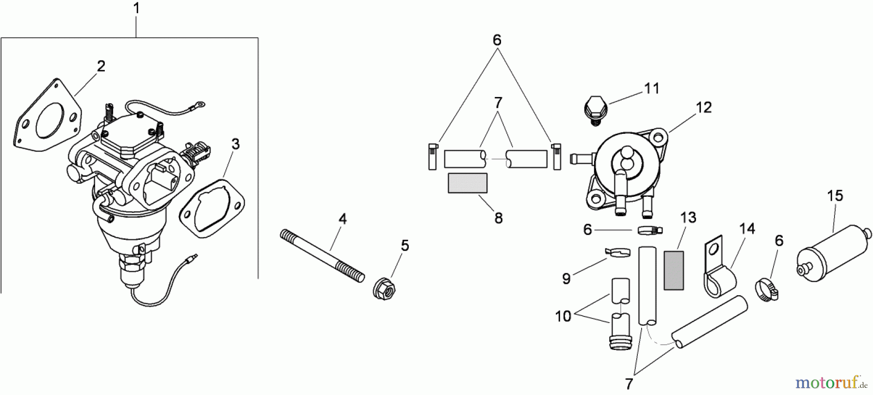
Hier finden Sie die Ersatzteilzeichnung für Toro Neu Mowers, Zero-Turn 74813 (Z4800) - Toro TITAN Z4800 Zero-Turn-Radius Riding Mower, 2009 (290000001-290999999) FUEL SYSTEM ASSEMBLY KOHLER SV820-0013. Wählen Sie das benötigte Ersatzteil aus der Ersatzteilliste Ihres Toro Gerätes aus und bestellen Sie einfach online. Viele Toro Ersatzteile halten wir ständig in unserem Lager für Sie bereit.



