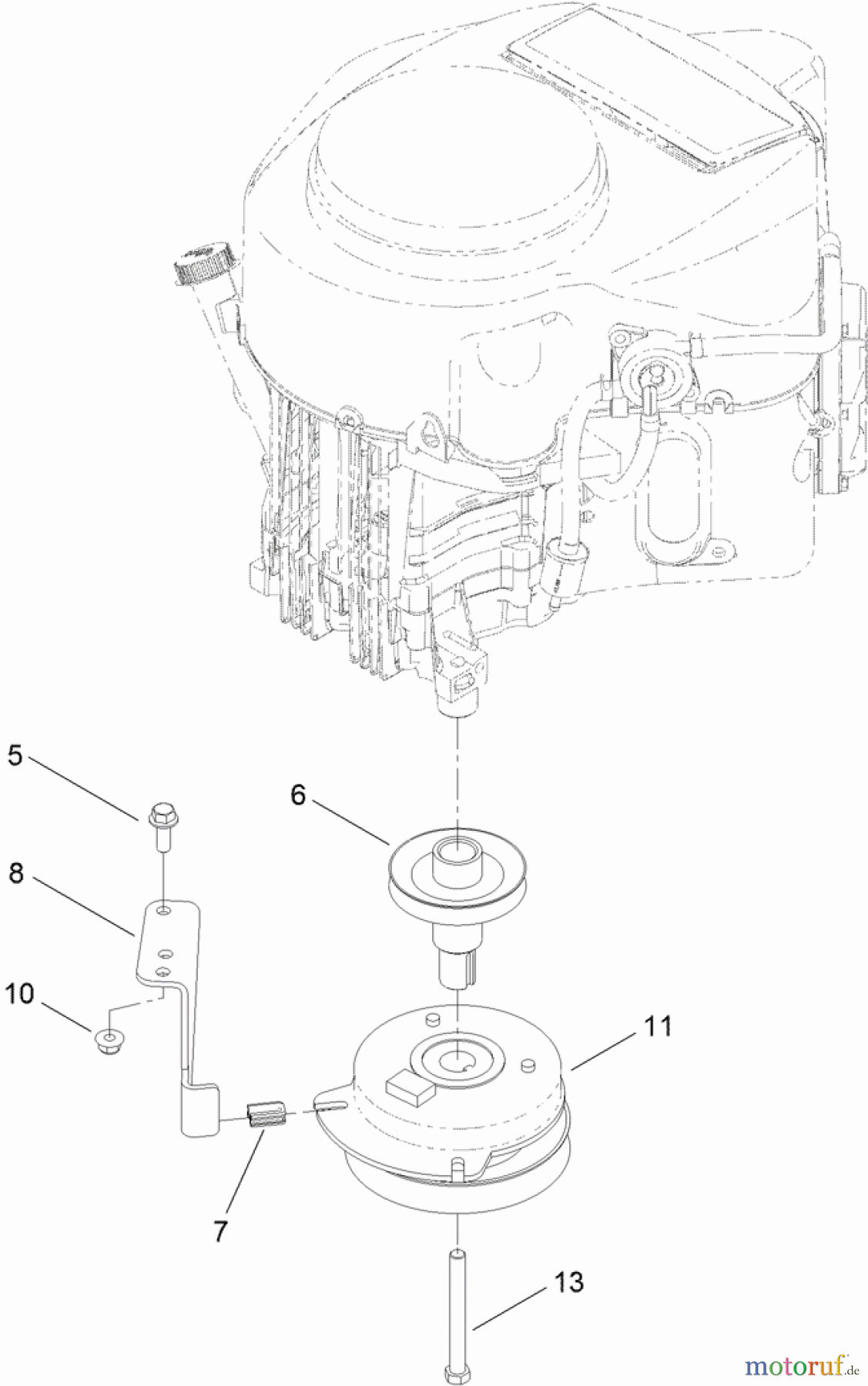
Toro 74630 (5000) - TimeCutter SS 5000 Riding Mower, 2012 (SN 312000001-312999999) CLUTCH ASSEMBLY Ersatzteile
CLUTCH ASSEMBLY 74630 (5000) - Toro TimeCutter SS 5000 Riding Mower, 2012 (SN 312000001-312999999)

Hier finden Sie die Ersatzteilzeichnung für Toro Neu Mowers, Zero-Turn 74630 (5000) - Toro TimeCutter SS 5000 Riding Mower, 2012 (SN 312000001-312999999) CLUTCH ASSEMBLY. Wählen Sie das benötigte Ersatzteil aus der Ersatzteilliste Ihres Toro Gerätes aus und bestellen Sie einfach online. Viele Toro Ersatzteile halten wir ständig in unserem Lager für Sie bereit.
| BildNr | Artikel Nummer | Bezeichnung | |
| 5 | TR3234-42 | Innensechskantschraube | |
| 6 | TR119-3318 | PULLEY-ENGINE | |
| 7 | TR120-2217 | ISOLATOR-CLUTCH | |
| 8 | TR119-8885 | STOP-CLUTCH | |
| 10 | TR104-8301 | Mutter | |
| 11 | TR110-6766 | CLUTCH-ELECTRIC, PTO | |
| 13 | TR32121-7 | Stift | |



