Toro 26625CS - Lawnmower, 1989 (9000001-9999999) STARTER MOTOR ASSEMBLY Ersatzteile
STARTER MOTOR ASSEMBLY 26625CS - Toro Lawnmower, 1989 (9000001-9999999)

Hier finden Sie die Ersatzteilzeichnung für Toro Neu Mowers, Walk-Behind Seite 2 26625CS - Toro Lawnmower, 1989 (9000001-9999999) STARTER MOTOR ASSEMBLY. Wählen Sie das benötigte Ersatzteil aus der Ersatzteilliste Ihres Toro Gerätes aus und bestellen Sie einfach online. Viele Toro Ersatzteile halten wir ständig in unserem Lager für Sie bereit.
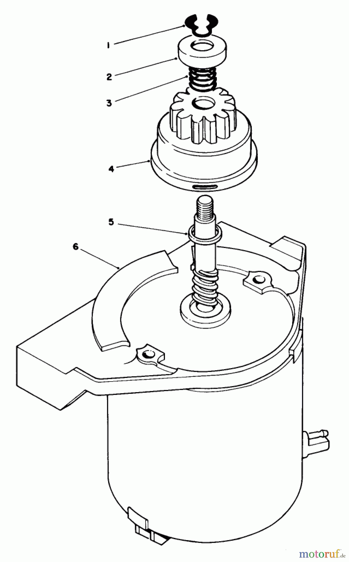
| BildNr | Artikel Nummer | Bezeichnung | |
| 1 | TR32151-47 | RING-RETAINING | |
| 2 | TR49-2170 | PINION STOP | |
| 3 | TR44-0500 | Druckfeder | |
| 4 | TR43-4370 | Starterritzel | |
| 5 | TR23-9591 | Distanzring | |
| 6 | TR53-4460 | Startergehaeuse | |
| TR53-4500 | STARTER MOTOR ASM | ||


Qualitätsmanagement
Informieren Sie uns, wenn Sie einen Fehler gefunden haben.

