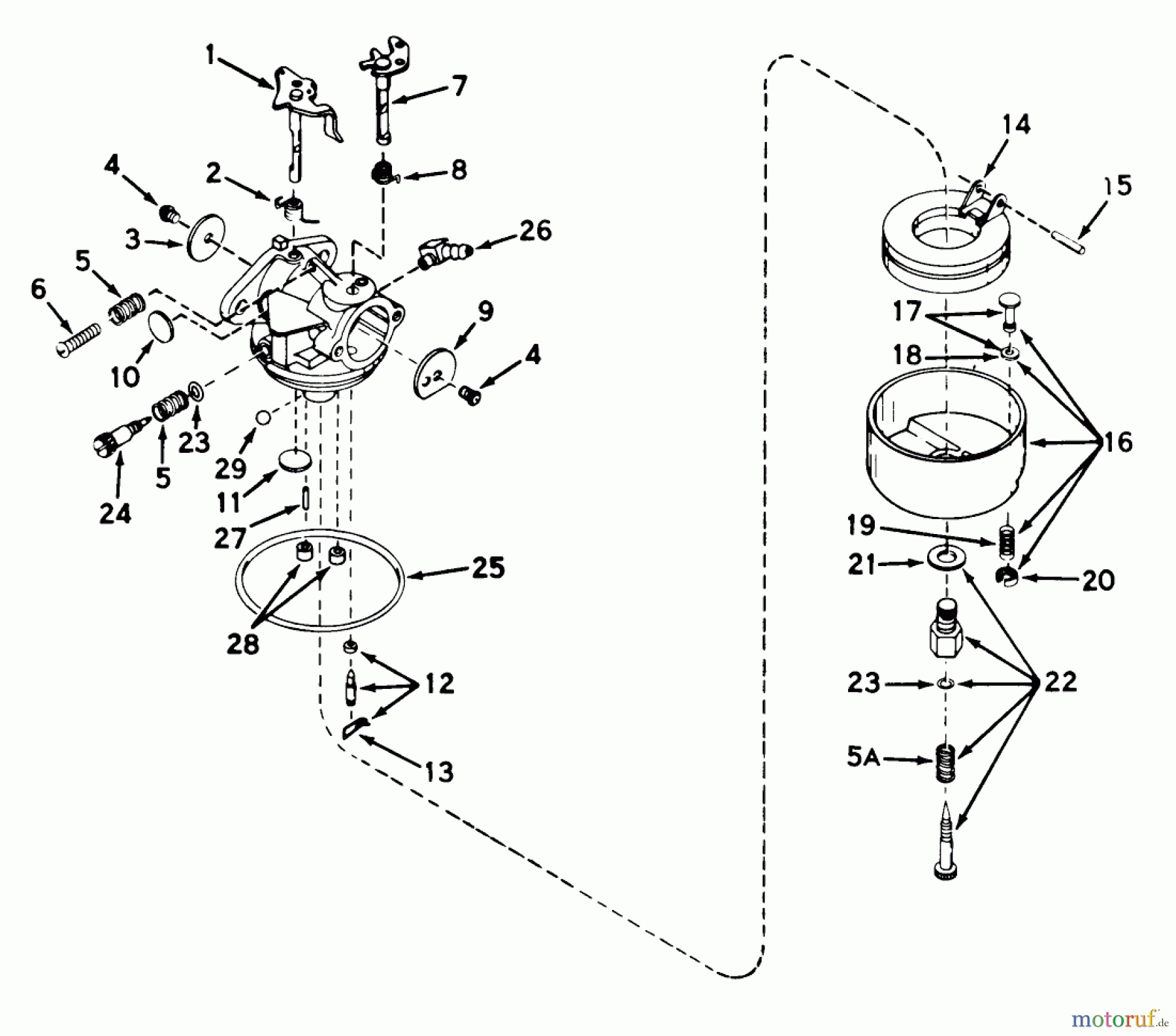
Toro 23100 - 21" Whirlwind Hevi-Duty Lawnmower, 1969 (9000001-9999999) CARBURETOR NO. 631115 Ersatzteile
CARBURETOR NO. 631115 23100 - Toro 21" Whirlwind Hevi-Duty Lawnmower, 1969 (9000001-9999999)

Hier finden Sie die Ersatzteilzeichnung für Toro Neu Mowers, Walk-Behind Seite 2 23100 - Toro 21" Whirlwind Hevi-Duty Lawnmower, 1969 (9000001-9999999) CARBURETOR NO. 631115. Wählen Sie das benötigte Ersatzteil aus der Ersatzteilliste Ihres Toro Gerätes aus und bestellen Sie einfach online. Viele Toro Ersatzteile halten wir ständig in unserem Lager für Sie bereit.





