Toro 23000 - 21" Whirlwind Hevi-Duty Lawnmower, 1964 (4000001-4999999) REWIND STARTER NO. 590374 Ersatzteile
REWIND STARTER NO. 590374 23000 - Toro 21" Whirlwind Hevi-Duty Lawnmower, 1964 (4000001-4999999)

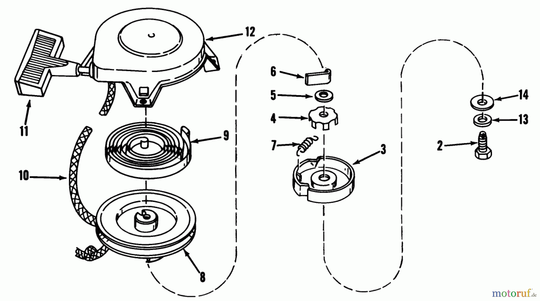
Hier finden Sie die Ersatzteilzeichnung für Toro Neu Mowers, Walk-Behind Seite 2 23000 - Toro 21" Whirlwind Hevi-Duty Lawnmower, 1964 (4000001-4999999) REWIND STARTER NO. 590374. Wählen Sie das benötigte Ersatzteil aus der Ersatzteilliste Ihres Toro Gerätes aus und bestellen Sie einfach online. Viele Toro Ersatzteile halten wir ständig in unserem Lager für Sie bereit.
| BildNr | Artikel Nummer | Bezeichnung | |
| 2 | TC29728 | NICHT MEHR LIEFERBAR | |
| 3 | TC31280 | ||
| 4 | TC28774 | ||
| 5 | TC31281 | ||
| 6 | TC590148 | STARTER DOG | |
| 7 | TC31277 | RET SPRING | |
| 8 | TC31282 | ||
| 9 | TC31278 | ||
| 12 | TC31283 | ||
| 13 | TC28780 | ||
| 14 | TC31289 | ||


Qualitätsmanagement
Informieren Sie uns, wenn Sie einen Fehler gefunden haben.

