Toro 22164 (PT21) - PT21 Trim Mower, 2007 (270003001-270999999) FUEL TANK AND FUEL VALVE ASSEMBLY KAWASAKI FJ180V-AS28 Ersatzteile
FUEL TANK AND FUEL VALVE ASSEMBLY KAWASAKI FJ180V-AS28 22164 (PT21) - Toro PT21 Trim Mower, 2007 (270003001-270999999)

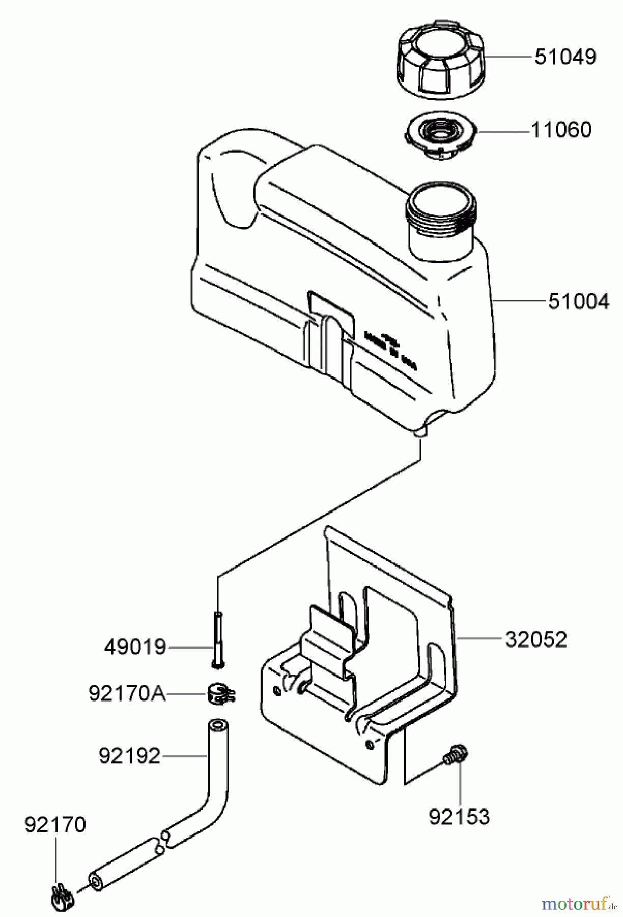
Hier finden Sie die Ersatzteilzeichnung für Toro Neu Mowers, Walk-Behind Seite 2 22164 (PT21) - Toro PT21 Trim Mower, 2007 (270003001-270999999) FUEL TANK AND FUEL VALVE ASSEMBLY KAWASAKI FJ180V-AS28. Wählen Sie das benötigte Ersatzteil aus der Ersatzteilliste Ihres Toro Gerätes aus und bestellen Sie einfach online. Viele Toro Ersatzteile halten wir ständig in unserem Lager für Sie bereit.
| BildNr | Artikel Nummer | Bezeichnung | |
| 11060 | ![]() | KA110602145 | DICHTUNG BENZINSTANDSMESSER |
| 32052 | KA320527001 | BRACKET-TANK | |
| 49019 | KA490197003 | FILTER-FUEL | |
| 51004 | KA510047003 | TANK-FUEL | |
| 51049 | ![]() | KA510492087 | CAP-TANK |
| 92153 | KA921537023 | BOLT | |
| 92170 | ![]() | KA921702009 | CLAMP |
| 92170A | KA921702088 | CLAMP | |
| 92192 | KA921927111 | TUBE,6X13X330 | |


Qualitätsmanagement
Informieren Sie uns, wenn Sie einen Fehler gefunden haben.




