Toro 20053 - Super Recycler Lawn Mower, 2006 (260000001-260999999) CYLINDER ASSEMBLY BRIGGS AND STRATTON 125K02-0189-E1 Ersatzteile
CYLINDER ASSEMBLY BRIGGS AND STRATTON 125K02-0189-E1 20053 - Toro Super Recycler Lawn Mower, 2006 (260000001-260999999)

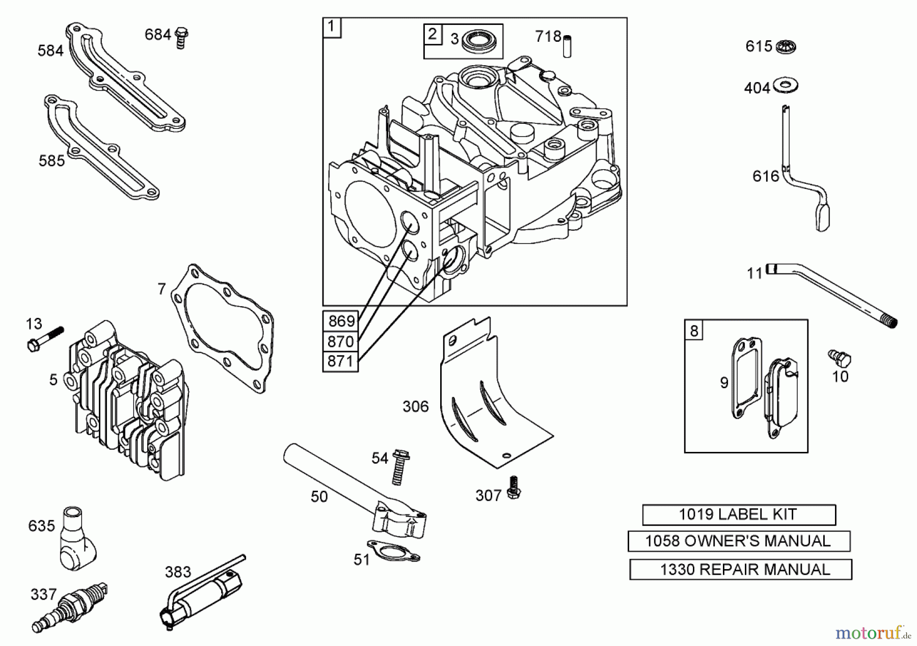
Hier finden Sie die Ersatzteilzeichnung für Toro Neu Mowers, Walk-Behind Seite 1 20053 - Toro Super Recycler Lawn Mower, 2006 (260000001-260999999) CYLINDER ASSEMBLY BRIGGS AND STRATTON 125K02-0189-E1. Wählen Sie das benötigte Ersatzteil aus der Ersatzteilliste Ihres Toro Gerätes aus und bestellen Sie einfach online. Viele Toro Ersatzteile halten wir ständig in unserem Lager für Sie bereit.






