Toro 70142 (11-32) - 11-32 Rear Engine Rider, 1997 (79000001-79999999) STEERING WHEEL, SWITCHES & DECALS Ersatzteile
STEERING WHEEL, SWITCHES & DECALS 70142 (11-32) - Toro 11-32 Rear Engine Rider, 1997 (79000001-79999999)

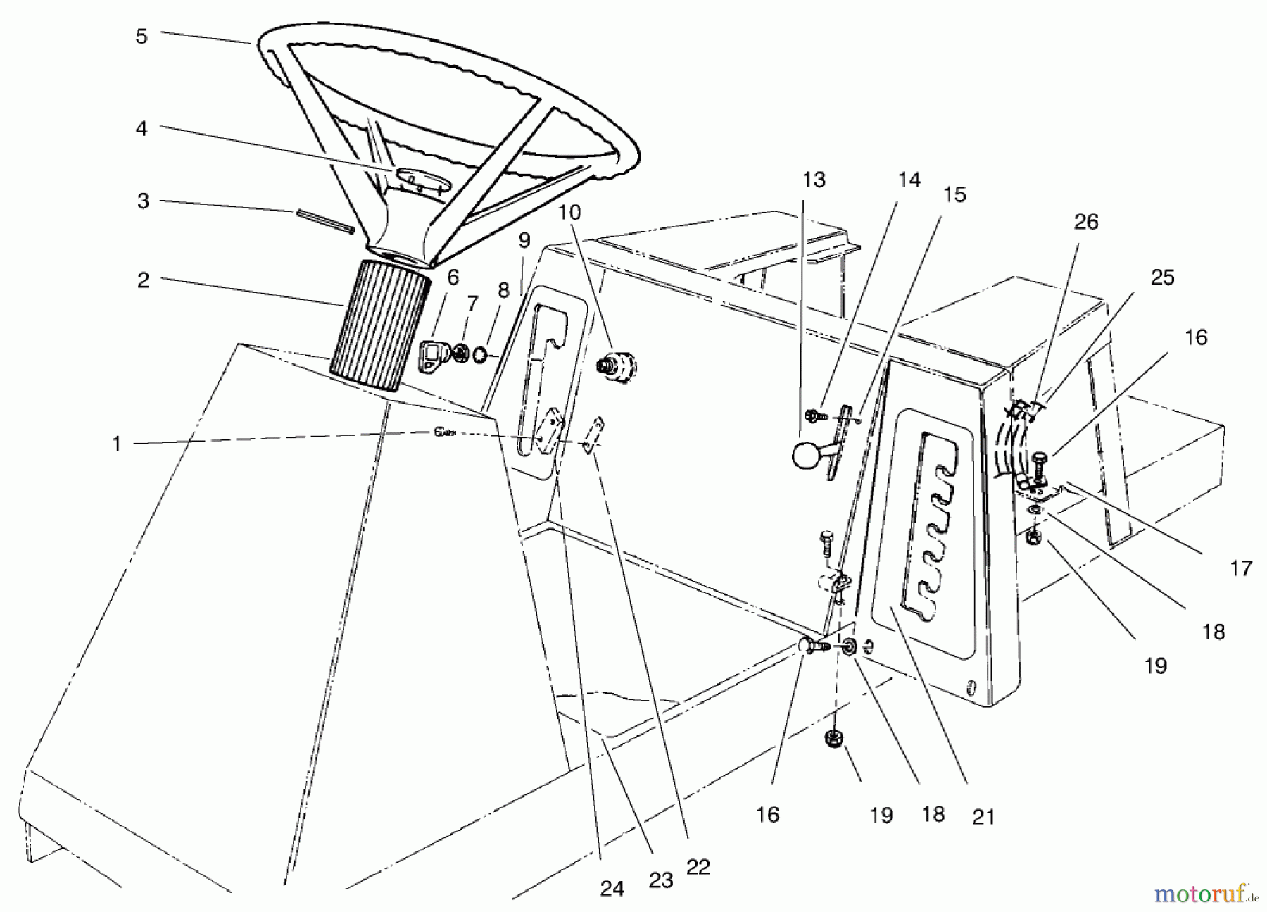
Hier finden Sie die Ersatzteilzeichnung für Toro Neu Mowers, Rear-Engine Rider 70142 (11-32) - Toro 11-32 Rear Engine Rider, 1997 (79000001-79999999) STEERING WHEEL, SWITCHES & DECALS. Wählen Sie das benötigte Ersatzteil aus der Ersatzteilliste Ihres Toro Gerätes aus und bestellen Sie einfach online. Viele Toro Ersatzteile halten wir ständig in unserem Lager für Sie bereit.


Qualitätsmanagement
Informieren Sie uns, wenn Sie einen Fehler gefunden haben.



