Einkaufswagen
Mein Konto

Toro 57360 (11-32) - 11-32 Lawn Tractor, 1981 (1000001-1999999) BRIGGS & STRATTON MODEL 191707-5641-01 (MODEL 57300) #2 Ersatzteile

BRIGGS & STRATTON MODEL 191707-5641-01 (MODEL 57300) #2 57360 (11-32) - Toro 11-32 Lawn Tractor, 1981 (1000001-1999999)

 Toro Neu Mowers, Lawn & Garden Tractor Seite 1 57360 (11-32) - Toro 11-32 Lawn Tractor, 1981 (1000001-1999999) BRIGGS & STRATTON MODEL 191707-5641-01 (MODEL 57300) #2

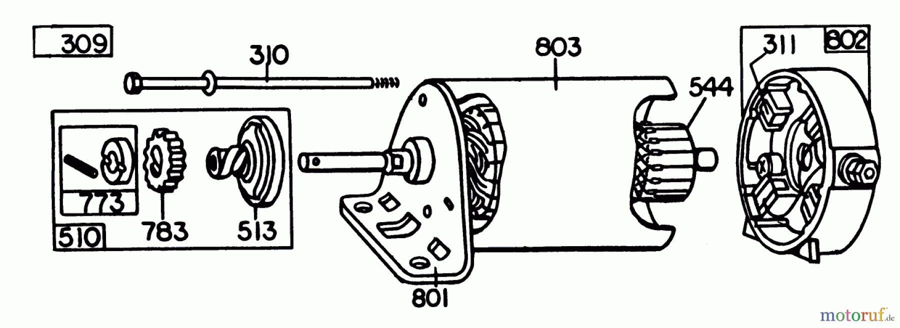
Hier finden Sie die Ersatzteilzeichnung für Toro Neu Mowers, Lawn & Garden Tractor Seite 1 57360 (11-32) - Toro 11-32 Lawn Tractor, 1981 (1000001-1999999) BRIGGS & STRATTON MODEL 191707-5641-01 (MODEL 57300) #2. Wählen Sie das benötigte Ersatzteil aus der Ersatzteilliste Ihres Toro Gerätes aus und bestellen Sie einfach online. Viele Toro Ersatzteile halten wir ständig in unserem Lager für Sie bereit.

Rasen
Bankeinzug, MasterCard, Visa, American Express, PayPal, Nachnahme, Vorauskasse, Sofortüberweisung
Qualitätsmanagement
Informieren Sie uns, wenn Sie einen Fehler gefunden haben.