Toro 14AP80RP544 (GT2100) - GT2100 Garden Tractor, 2006 (1A136H30000-) FUEL SYSTEM ASSEMBLY KOHLER SV720-0017 Ersatzteile
FUEL SYSTEM ASSEMBLY KOHLER SV720-0017 14AP80RP544 (GT2100) - Toro GT2100 Garden Tractor, 2006 (1A136H30000-)

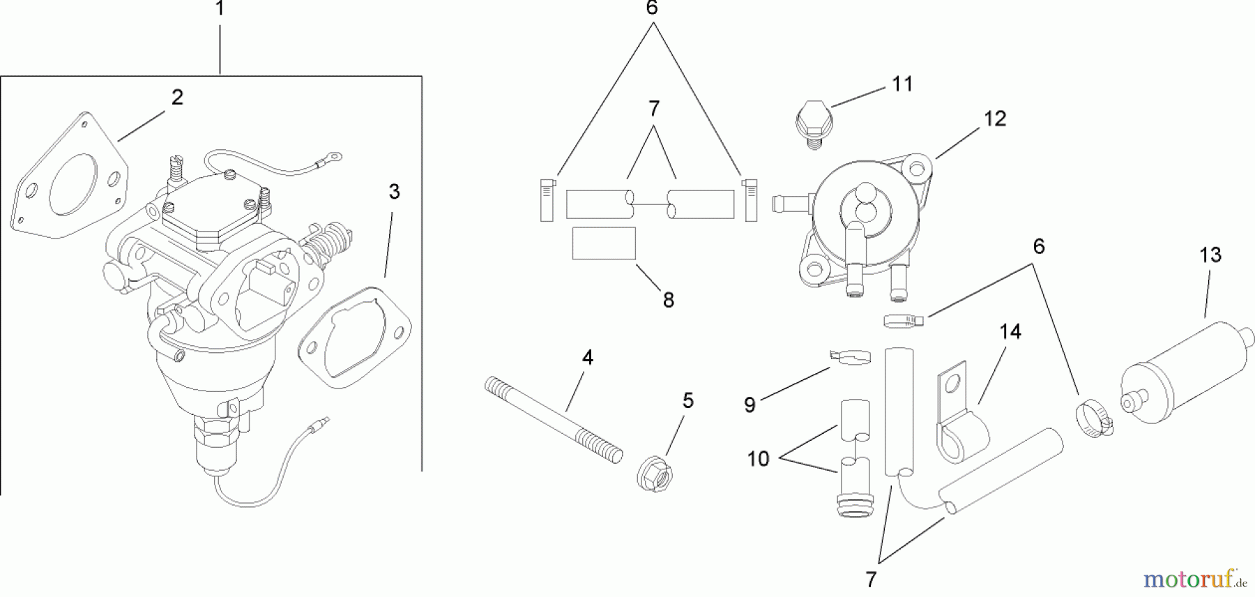
Hier finden Sie die Ersatzteilzeichnung für Toro Neu Mowers, Lawn & Garden Tractor Seite 1 14AP80RP544 (GT2100) - Toro GT2100 Garden Tractor, 2006 (1A136H30000-) FUEL SYSTEM ASSEMBLY KOHLER SV720-0017. Wählen Sie das benötigte Ersatzteil aus der Ersatzteilliste Ihres Toro Gerätes aus und bestellen Sie einfach online. Viele Toro Ersatzteile halten wir ständig in unserem Lager für Sie bereit.


Qualitätsmanagement
Informieren Sie uns, wenn Sie einen Fehler gefunden haben.

