Toro 13AP61RH048 (LX468) - LX468 Lawn Tractor, 2008 (SN 1C108H20348-) FUEL SYSTEM ASSEMBLY KOHLER SV715-0016 Ersatzteile
FUEL SYSTEM ASSEMBLY KOHLER SV715-0016 13AP61RH048 (LX468) - Toro LX468 Lawn Tractor, 2008 (SN 1C108H20348-)

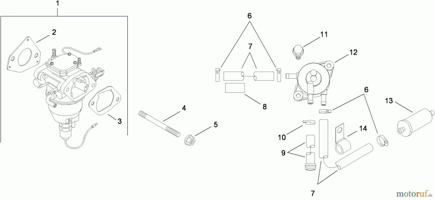
Hier finden Sie die Ersatzteilzeichnung für Toro Neu Mowers, Lawn & Garden Tractor Seite 1 13AP61RH048 (LX468) - Toro LX468 Lawn Tractor, 2008 (SN 1C108H20348-) FUEL SYSTEM ASSEMBLY KOHLER SV715-0016. Wählen Sie das benötigte Ersatzteil aus der Ersatzteilliste Ihres Toro Gerätes aus und bestellen Sie einfach online. Viele Toro Ersatzteile halten wir ständig in unserem Lager für Sie bereit.



