Toro 75-36MS02 - 36" Side Discharge Mower, 1977 PARTS LIST FOR ROTARY MOWERS (75-36XR02,75-36MS02) Ersatzteile
PARTS LIST FOR ROTARY MOWERS (75-36XR02,75-36MS02) 75-36MS02 - Toro 36" Side Discharge Mower, 1977

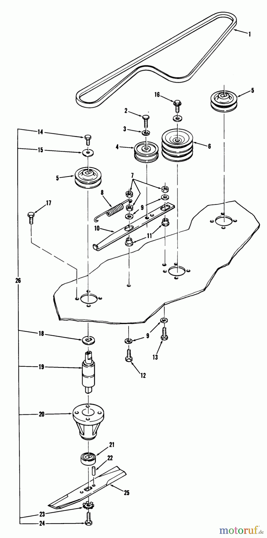
Hier finden Sie die Ersatzteilzeichnung für Toro Neu Mowers, Deck Assembly Only 75-36MS02 - Toro 36" Side Discharge Mower, 1977 PARTS LIST FOR ROTARY MOWERS (75-36XR02,75-36MS02). Wählen Sie das benötigte Ersatzteil aus der Ersatzteilliste Ihres Toro Gerätes aus und bestellen Sie einfach online. Viele Toro Ersatzteile halten wir ständig in unserem Lager für Sie bereit.


Qualitätsmanagement
Informieren Sie uns, wenn Sie einen Fehler gefunden haben.


