Toro 30544 (117/120) - 44" Side Discharge Mower, Groundsmaster 117/120, 1992 (200001-299999) EXHAUST-ENGINE KOHLER MODEL NO. M18QS-24657 Ersatzteile
EXHAUST-ENGINE KOHLER MODEL NO. M18QS-24657 30544 (117/120) - Toro 44" Side Discharge Mower, Groundsmaster 117/120, 1992 (200001-299999)

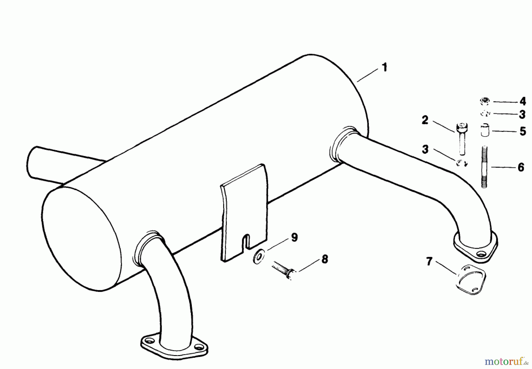
Hier finden Sie die Ersatzteilzeichnung für Toro Neu Mowers, Deck Assembly Only 30544 (117/120) - Toro 44" Side Discharge Mower, Groundsmaster 117/120, 1992 (200001-299999) EXHAUST-ENGINE KOHLER MODEL NO. M18QS-24657. Wählen Sie das benötigte Ersatzteil aus der Ersatzteilliste Ihres Toro Gerätes aus und bestellen Sie einfach online. Viele Toro Ersatzteile halten wir ständig in unserem Lager für Sie bereit.
| BildNr | Artikel Nummer | Bezeichnung | |
| 2 | KHX-55-6-S | USE 25 086 87-S | |
| 3 | KHX-21-1-S | WASHER, SPRING LOCK 5/16" | |
| 4 | KHX-82-2-S | USE 25 100 22-S | |
| 8 | KHX-132-5-S | SCREW, SEMS 1/4-20X5/8" | |
| 9 | KHX-25-73-S | WASHER, FLAT 1/4" (O.D. 1") | |


Qualitätsmanagement
Informieren Sie uns, wenn Sie einen Fehler gefunden haben.

