Toro 15-42RC02 - 42" Rear Discharge Mower, 1992 (2000001-2999999) REAR DISCHARGE MOWER-42 IN. #3 Ersatzteile
REAR DISCHARGE MOWER-42 IN. #3 15-42RC02 - Toro 42" Rear Discharge Mower, 1992 (2000001-2999999)

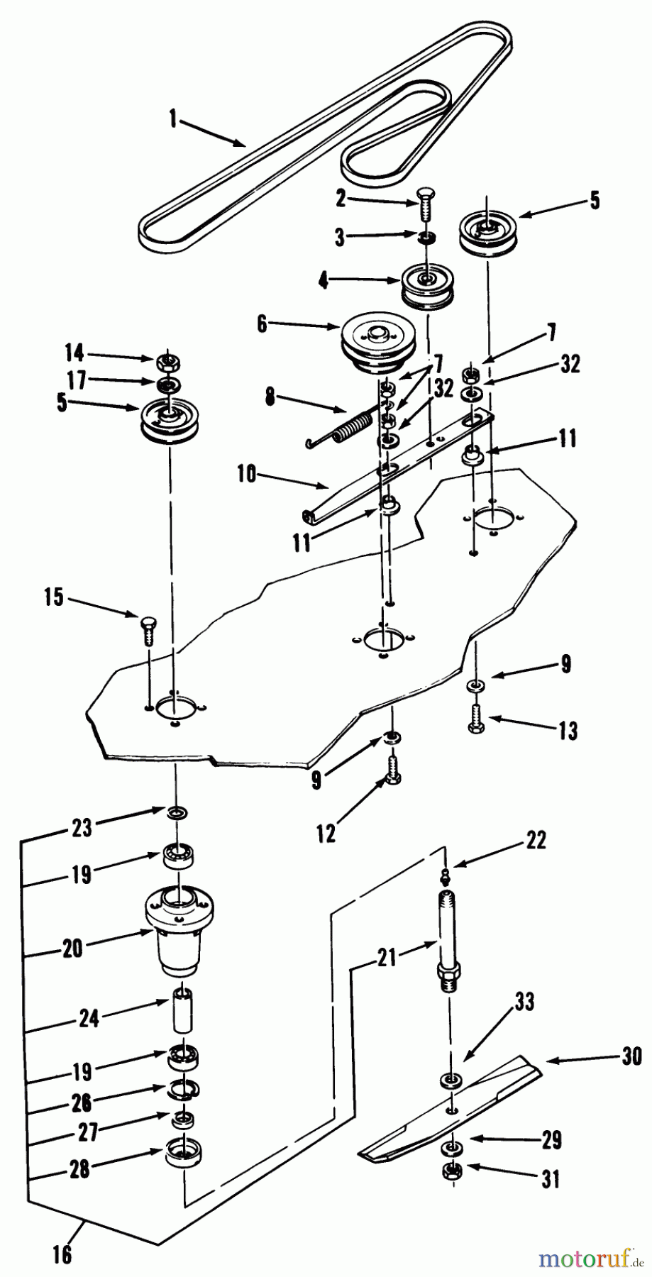
Hier finden Sie die Ersatzteilzeichnung für Toro Neu Mowers, Deck Assembly Only 15-42RC02 - Toro 42" Rear Discharge Mower, 1992 (2000001-2999999) REAR DISCHARGE MOWER-42 IN. #3. Wählen Sie das benötigte Ersatzteil aus der Ersatzteilliste Ihres Toro Gerätes aus und bestellen Sie einfach online. Viele Toro Ersatzteile halten wir ständig in unserem Lager für Sie bereit.




