Toro 62925 - 206cc OHV Vacuum Blower, 2007 (270000001-270999999) MUFFLER AND FUEL TANK ASSEMBLY BRIGGS AND STRATTON 126302-0210-B1 Ersatzteile
MUFFLER AND FUEL TANK ASSEMBLY BRIGGS AND STRATTON 126302-0210-B1 62925 - Toro 206cc OHV Vacuum Blower, 2007 (270000001-270999999)

Hier finden Sie die Ersatzteilzeichnung für Toro Neu Blowers/Vacuums/Chippers/Shredders 62925 - Toro 206cc OHV Vacuum Blower, 2007 (270000001-270999999) MUFFLER AND FUEL TANK ASSEMBLY BRIGGS AND STRATTON 126302-0210-B1. Wählen Sie das benötigte Ersatzteil aus der Ersatzteilliste Ihres Toro Gerätes aus und bestellen Sie einfach online. Viele Toro Ersatzteile halten wir ständig in unserem Lager für Sie bereit.
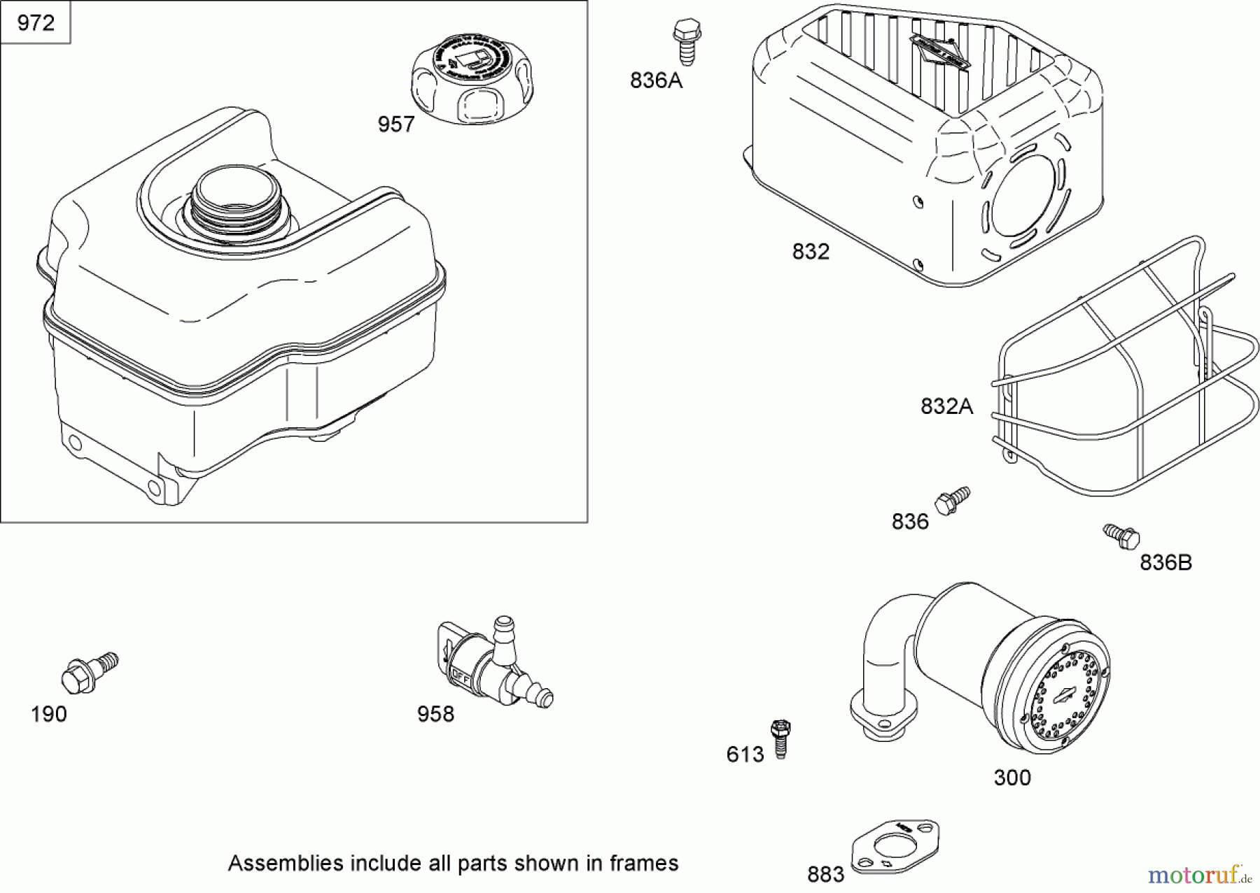
| BildNr | Artikel Nummer | Bezeichnung | |
| 300 | BS693593 | SCHALLDAEMPFER | |
| 190 | BS699220 | SCHRAUBE | |
| 613 | BS791972 | SCHRAUBE | |
| 832 | BS693583 | AUSPUFFSCHUTZGITTER | |
| 832A | BS696516 | AUSPUFF | |
| 836 | BS699204 | SCHRAUBE | |
| 836A | BS699632 | SCHRAUBE | |
| 836B | BS699203 | SCHRAUBE | |
| 883 | BS691893 | AUSPUFFDICHTUNG | |
| 957 | BS792647 | KRAFTSTOFFTANKDECKEL | |
| 958 | BS698180 | VALVE-FUEL SHUT OFF | |
| 972 | BS694260 | BENZINTANK | |


Qualitätsmanagement
Informieren Sie uns, wenn Sie einen Fehler gefunden haben.

