Toro WW-93 - Wheel Weights, 1965 WHEEL WEIGHTS WW-93 Ersatzteile
WHEEL WEIGHTS WW-93 WW-93 - Toro Wheel Weights, 1965

Hier finden Sie die Ersatzteilzeichnung für Toro Neu Accessories, Mower WW-93 - Toro Wheel Weights, 1965 WHEEL WEIGHTS WW-93. Wählen Sie das benötigte Ersatzteil aus der Ersatzteilliste Ihres Toro Gerätes aus und bestellen Sie einfach online. Viele Toro Ersatzteile halten wir ständig in unserem Lager für Sie bereit.
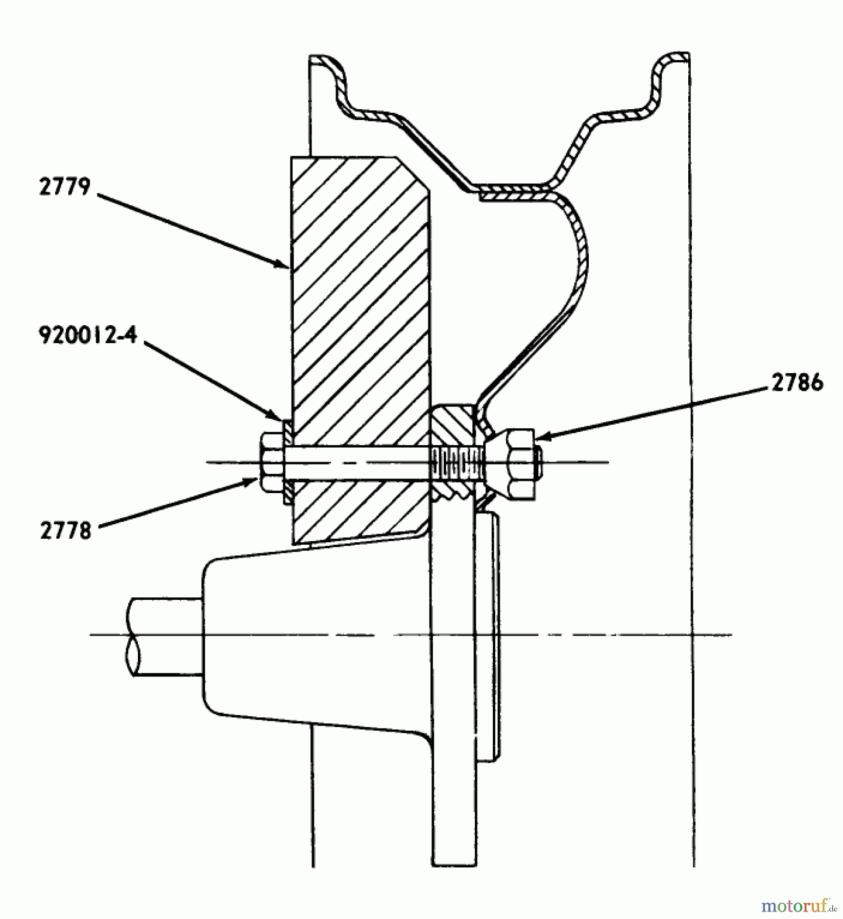
| BildNr | Artikel Nummer | Bezeichnung | |
| 2779 | TR2779 | ||
| 2778 | TR2778 | DISCONTINUED | |
| 2786 | TR2786 | DISCONTINUED | |
| 920012-4 | TR920012-4 | ||



