Zerto-Turn Mäher SPINDLE ASSEMBLY NO. 112-8698 Ersatzteile
SPINDLE ASSEMBLY NO. 112-8698 74267CP (Z580-D) - Toro Z Master Mower, 60" TURBO FORCE Side Discharge Deck (SN: 280000001 - 280999999) (2008)

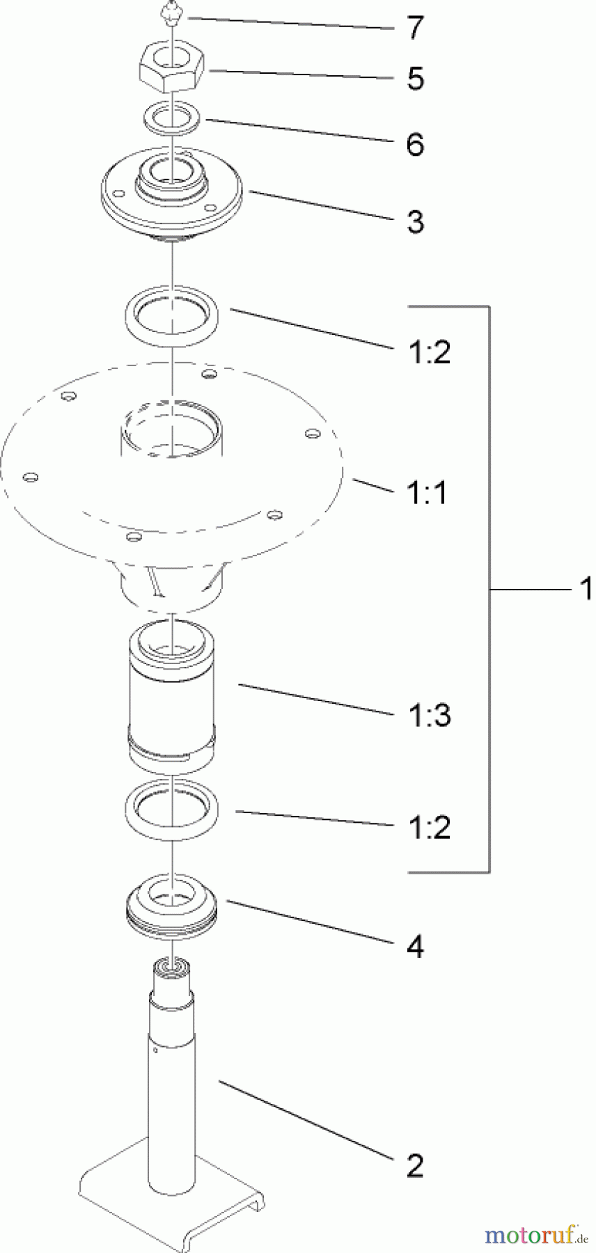
Hier finden Sie die Ersatzteilzeichnung für Zerto-Turn Mäher 74267CP (Z580-D) - Toro Z Master Mower, 60" TURBO FORCE Side Discharge Deck (SN: 280000001 - 280999999) (2008) SPINDLE ASSEMBLY NO. 112-8698. Wählen Sie das benötigte Ersatzteil aus der Ersatzteilliste Ihres Zerto-Turn Mäher Gerätes aus und bestellen Sie einfach online. Viele Zerto-Turn Mäher Ersatzteile halten wir ständig in unserem Lager für Sie bereit.
| BildNr | Artikel Nummer | Bezeichnung | |
| 1 | TR | ||
| 1:1 | TR | ||
| 1:2 | ![]() | TR253-154 | SEAL-OIL |
| 1:3 | TR71-2530 | Lager | |
| 2 | TR110-3285 | SPINDLE SHAFT ASM | |
| 3 | TR114-1161 | HUB-SPLINE | |
| 4 | TR69-6950 | Scheibe | |
| 5 | TR3296-49 | NUT-LOCK, NI | |
| 6 | TR3-8514 | Scheibe | |
| 7 | TR302-2 | Fettnippel | |




