Rasenmäher für Großflächen SPINDLE HOUSING ASSEMBLY NO. 104-6315 Ersatzteile
SPINDLE HOUSING ASSEMBLY NO. 104-6315 30260 - Toro Mid-Size ProLine Mower, Gear Drive, 17 hp, 52" Side Discharge Deck (SN: 210010001 - 210999999) (2001)

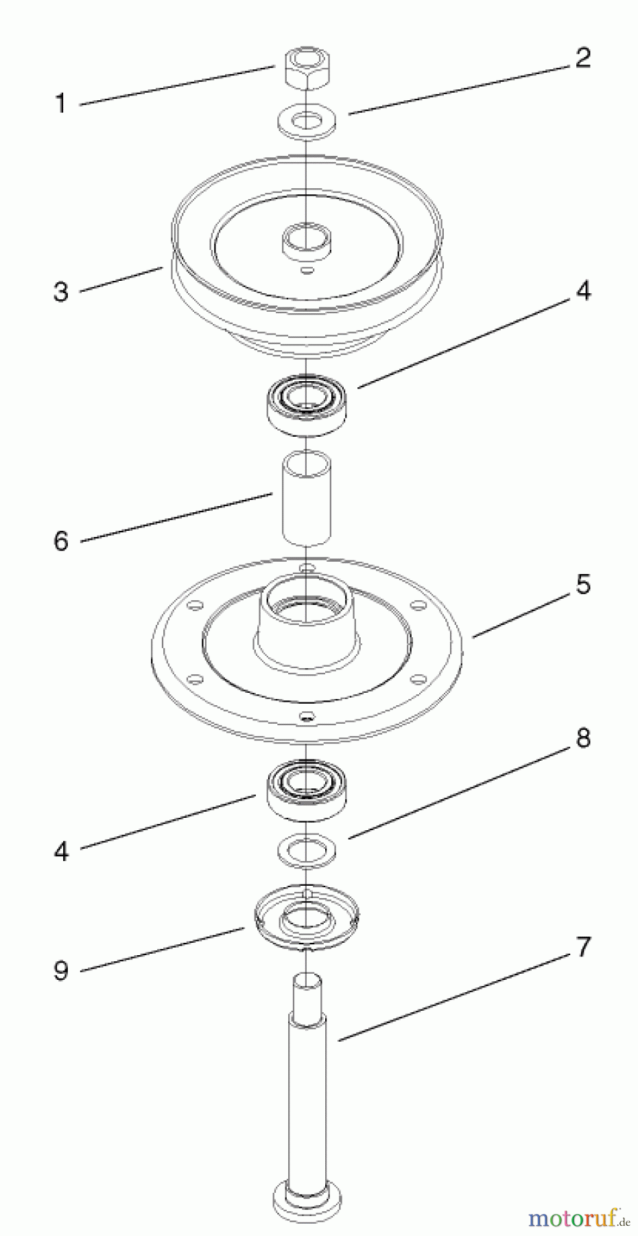
Hier finden Sie die Ersatzteilzeichnung für Rasenmäher für Großflächen 30260 - Toro Mid-Size ProLine Mower, Gear Drive, 17 hp, 52" Side Discharge Deck (SN: 210010001 - 210999999) (2001) SPINDLE HOUSING ASSEMBLY NO. 104-6315. Wählen Sie das benötigte Ersatzteil aus der Ersatzteilliste Ihres Rasenmäher für Großflächen Gerätes aus und bestellen Sie einfach online. Viele Rasenmäher für Großflächen Ersatzteile halten wir ständig in unserem Lager für Sie bereit.
| BildNr | Artikel Nummer | Bezeichnung | |
| 1 | TR3219-7 | Mutter | |
| 2 | TR7-4150 | WASHER | |
| 3 | TR104-1117 | PULLEY AND HUB ASM | |
| 4 | TR116-0720 | BEARING-BALL | |
| 5 | TR104-6307 | Lagergehaeuse | |
| 6 | TR106-0795 | SPACER-BEARING | |
| 7 | TR106-0798 | Messerwelle | |
| 8 | TR88-7540 | Scheibe | |
| 9 | TR79-1920 | Abdeckscheibe | |


Qualitätsmanagement
Informieren Sie uns, wenn Sie einen Fehler gefunden haben.

