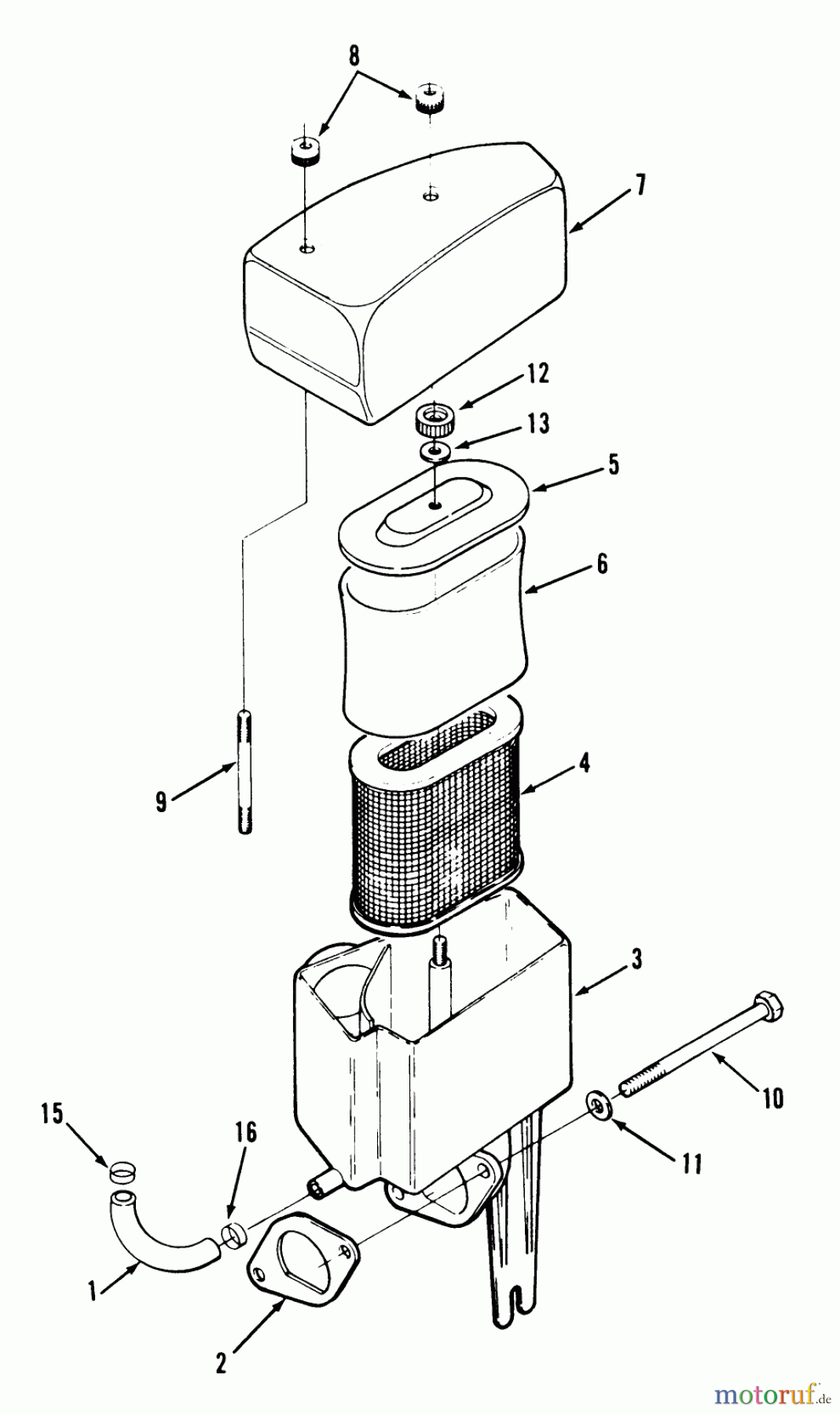
Rasen- und Garten Traktoren AIR CLEANER-612-Z Ersatzteile
AIR CLEANER-612-Z Y1-12OE02 - Toro 612-Z Tractor (SN: 1000001 - 1999999) (1991)

Hier finden Sie die Ersatzteilzeichnung für Rasen- und Garten Traktoren Y1-12OE02 - Toro 612-Z Tractor (SN: 1000001 - 1999999) (1991) AIR CLEANER-612-Z. Wählen Sie das benötigte Ersatzteil aus der Ersatzteilliste Ihres Rasen- und Garten Traktoren Gerätes aus und bestellen Sie einfach online. Viele Rasen- und Garten Traktoren Ersatzteile halten wir ständig in unserem Lager für Sie bereit.


