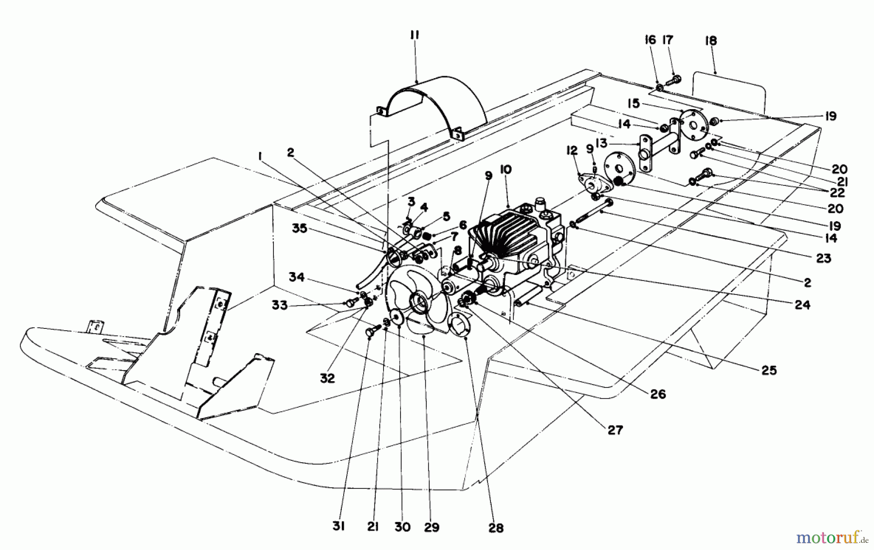
Mähdecks TRANSMISSION AND DRIVE COUPLING ASSEMBLY Ersatzteile
TRANSMISSION AND DRIVE COUPLING ASSEMBLY 30560 - Toro 52" Rear Discharge Mower (SN: 5000001 - 5999999) (1985)

Hier finden Sie die Ersatzteilzeichnung für Mähdecks 30560 - Toro 52" Rear Discharge Mower (SN: 5000001 - 5999999) (1985) TRANSMISSION AND DRIVE COUPLING ASSEMBLY. Wählen Sie das benötigte Ersatzteil aus der Ersatzteilliste Ihres Mähdecks Gerätes aus und bestellen Sie einfach online. Viele Mähdecks Ersatzteile halten wir ständig in unserem Lager für Sie bereit.



