Mähdecks SPINDLE HOUSING ASSEMBLY NO. 27-0870 Ersatzteile
SPINDLE HOUSING ASSEMBLY NO. 27-0870 30138 - Toro 92cm Side Discharge Mower (SN: 240000001 - 240999999) (2004)

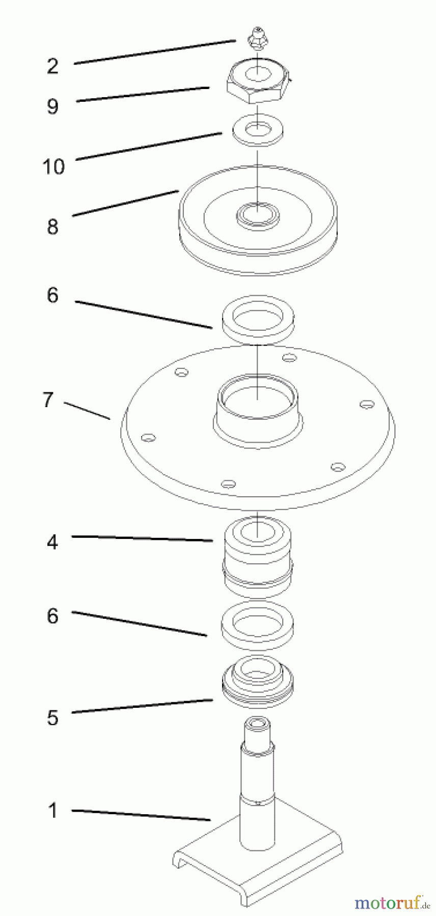
Hier finden Sie die Ersatzteilzeichnung für Mähdecks 30138 - Toro 92cm Side Discharge Mower (SN: 240000001 - 240999999) (2004) SPINDLE HOUSING ASSEMBLY NO. 27-0870. Wählen Sie das benötigte Ersatzteil aus der Ersatzteilliste Ihres Mähdecks Gerätes aus und bestellen Sie einfach online. Viele Mähdecks Ersatzteile halten wir ständig in unserem Lager für Sie bereit.
| BildNr | Artikel Nummer | Bezeichnung | |
| 1 | TR27-0920 | SHAFT | |
| 2 | TR302-2 | Fettnippel | |
| 4 | TR46-8530 | BEARING ASM | |
| 5 | TR27-0950 | Lagerbuechse | |
| 6 | TR253-139 | SEAL-OIL | |
| 7 | TR61-4160 | HOUSING-SPINDLE | |
| 8 | TR27-0970-03 | Riemenscheibe | |
| 9 | TR32146-20 | Mutter | |
| 10 | TR106-0776 | WASHER-PINION | |



