Compact Utility Loaders PARKING BRAKE ASSEMBLY Ersatzteile
PARKING BRAKE ASSEMBLY 22322 - Toro Dingo TX 427 Wide Track Compact Utility Loader (SN: 290000001 - 290999999) (2009)

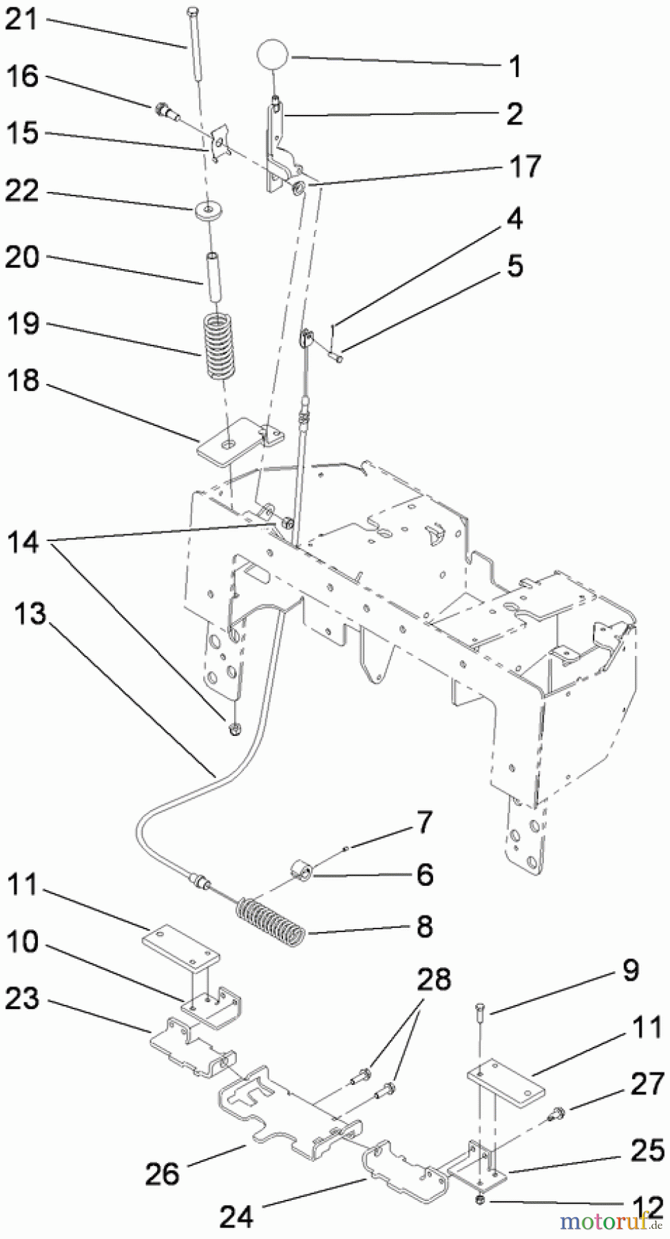
Hier finden Sie die Ersatzteilzeichnung für Compact Utility Loaders 22322 - Toro Dingo TX 427 Wide Track Compact Utility Loader (SN: 290000001 - 290999999) (2009) PARKING BRAKE ASSEMBLY. Wählen Sie das benötigte Ersatzteil aus der Ersatzteilliste Ihres Compact Utility Loaders Gerätes aus und bestellen Sie einfach online. Viele Compact Utility Loaders Ersatzteile halten wir ständig in unserem Lager für Sie bereit.


Qualitätsmanagement
Informieren Sie uns, wenn Sie einen Fehler gefunden haben.


