Compact Utility Loaders HYDRAULIC CYLINDER NO. 98-4710 Ersatzteile
HYDRAULIC CYLINDER NO. 98-4710 22304 - Toro Dingo 222 Traction Unit (SN: 890001 - 899999) (1998)

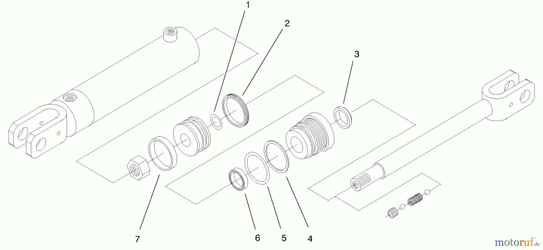
Hier finden Sie die Ersatzteilzeichnung für Compact Utility Loaders 22304 - Toro Dingo 222 Traction Unit (SN: 890001 - 899999) (1998) HYDRAULIC CYLINDER NO. 98-4710. Wählen Sie das benötigte Ersatzteil aus der Ersatzteilliste Ihres Compact Utility Loaders Gerätes aus und bestellen Sie einfach online. Viele Compact Utility Loaders Ersatzteile halten wir ständig in unserem Lager für Sie bereit.



