Zubehör TOOL JOINT LUBE APPLICATOR ASSEMBLY Ersatzteile
TOOL JOINT LUBE APPLICATOR ASSEMBLY 23800 - Toro 2024 Directional Drill (SN: 314000001 - 314999999) (2014)

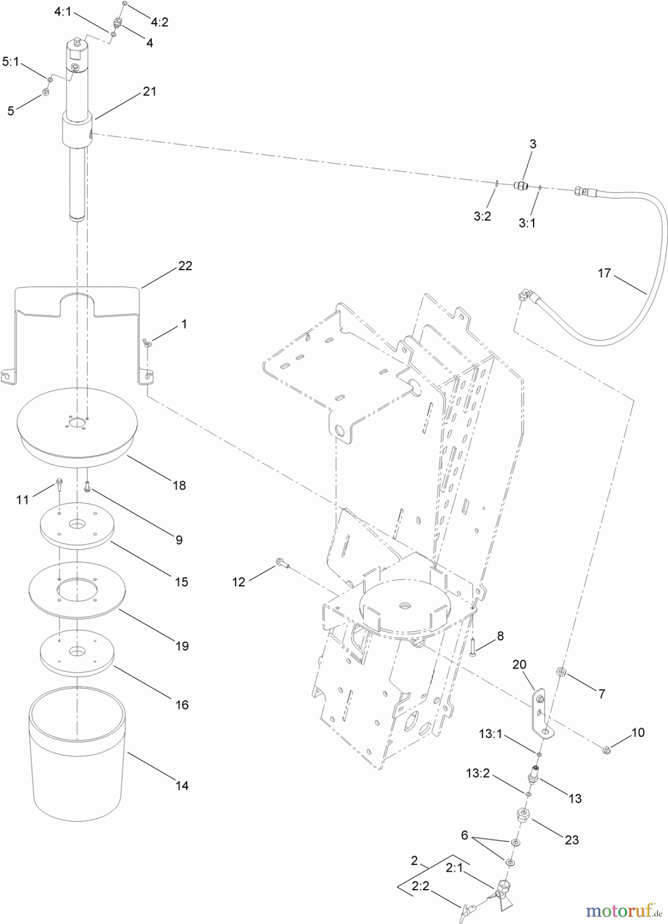
Hier finden Sie die Ersatzteilzeichnung für Zubehör 23800 - Toro 2024 Directional Drill (SN: 314000001 - 314999999) (2014) TOOL JOINT LUBE APPLICATOR ASSEMBLY. Wählen Sie das benötigte Ersatzteil aus der Ersatzteilliste Ihres Zubehör Gerätes aus und bestellen Sie einfach online. Viele Zubehör Ersatzteile halten wir ständig in unserem Lager für Sie bereit.
| BildNr | Artikel Nummer | Bezeichnung | |
| 1 | TR1-543792 | WINGNUT | |
| 2 | TR125-4539 | ||
| 2:1 | TR125-4540 | ||
| 2:2 | TR125-4541 | ||
| 3 | TR340-1 | Anschlagnippel | |
| 3:1 | TR237-21 | Dichtung | |
| 3:2 | TR237-42 | O-RING | |
| 4 | TR340-92 | Adapter | |
| 4:1 | TR237-78 | O.-Ring | |
| 4:2 | TR237-21 | Dichtung | |
| 5 | TR353-990 | Stopfen | |
| 5:1 | TR237-78 | O.-Ring | |
| 6 | TRAU496-21041 | ||
| 7 | TR340-78 | NUT-LOCK, BULKHEAD | |
| 8 | TR3229-5 | SCREW-CARR | |
| 9 | TR120-9678 | SCREW-HHF | |
| 10 | TR104-3082 | Stopmutter | |
| 11 | TR33103-025 | Schraube | |
| 12 | TR33104-025 | Schraube | |
| 13 | TRAU8OA90404 | ||
| 13:1 | TR237-21 | Dichtung | |
| 13:2 | TR237-78 | O.-Ring | |
| 14 | TRAU01DT9904 | ||
| 15 | TRAU108640-03 | ||
| 16 | TRAU108641-03 | ||
| 17 | TRAU108645 | ||
| 18 | TRAU108790-03 | ||
| 19 | TRAU108814 | ||
| 20 | TRAU108816-03 | ||
| 21 | TRAU108837 | ||
| 22 | TRAU109840-03 | ||
| 23 | TRAU8SA31004 | ||



