Tanaka TPK-400GS - 40cc Paveracer Kart Front Wheels Ersatzteile
Front Wheels TPK-400GS - Tanaka 40cc Paveracer Kart

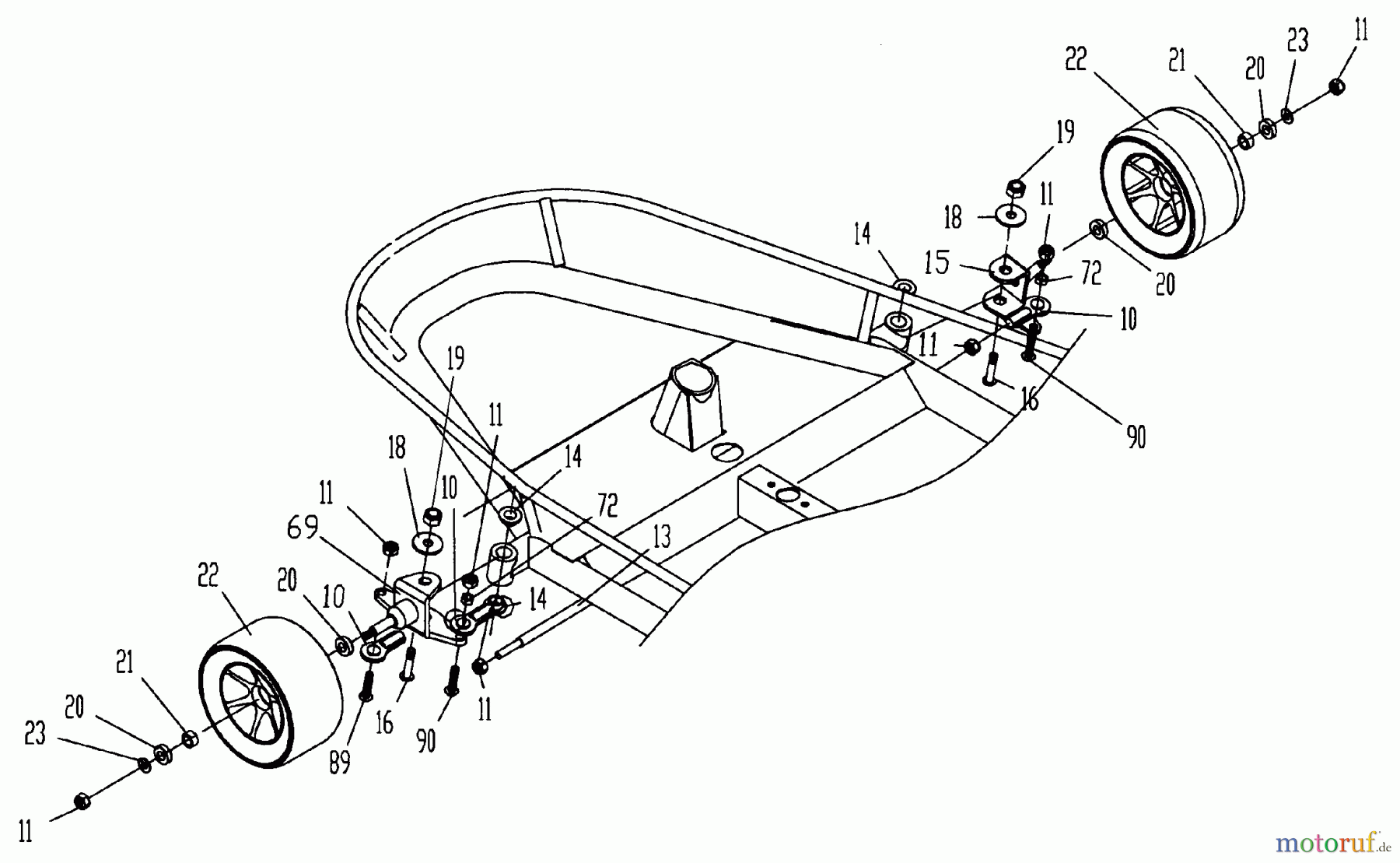
Hier finden Sie die Ersatzteilzeichnung für Tanaka Sonstiges TPK-400GS - Tanaka 40cc Paveracer Kart Front Wheels. Wählen Sie das benötigte Ersatzteil aus der Ersatzteilliste Ihres Tanaka Gerätes aus und bestellen Sie einfach online. Viele Tanaka Ersatzteile halten wir ständig in unserem Lager für Sie bereit.
| BildNr | Artikel Nummer | Bezeichnung | |
| 10 | 70039 | Kugellager | |
| 72 | Tecumseh 30936 | ||
| 13 | 70041 | ||
| 14 | 70042 | ||
| 15 | 70043 | ||
| 16 | 70044 | ||
| 18 | 70-045 | Ringelsäge mit einer Kette 70 | |
| 19 | 70-046 | Ringelsäge mit zwei Ketten 70 | |
| 20 | 70-047 | Ringelsäge mit drei Ketten 70 | |
| 21 | 70048 | 70048 | |
| 22 | Tecumseh 31795B | ||
| 23 | 70050 | ||
| 69 | 70069 | Kugel | |
| 72 | Tecumseh 30936 | ||
| 89 | Tecumseh 27880A | ||
| 90 | Tecumseh 31428 | ||



