Tanaka Moby - X 26cc PowerBoard Deck Ersatzteile
Deck Moby - Tanaka X 26cc PowerBoard

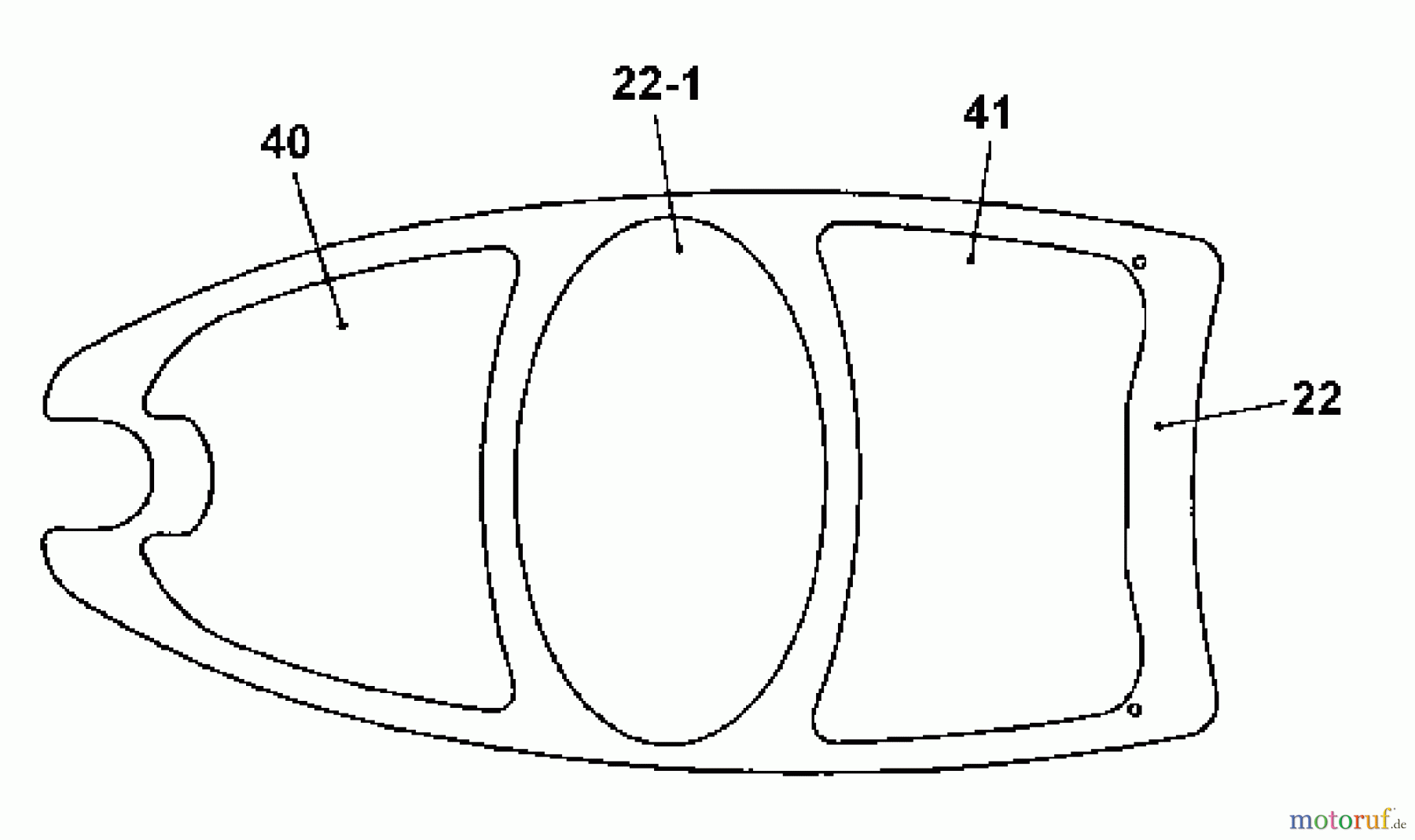
Hier finden Sie die Ersatzteilzeichnung für Tanaka Sonstiges Moby - Tanaka X 26cc PowerBoard Deck. Wählen Sie das benötigte Ersatzteil aus der Ersatzteilliste Ihres Tanaka Gerätes aus und bestellen Sie einfach online. Viele Tanaka Ersatzteile halten wir ständig in unserem Lager für Sie bereit.
| BildNr | Artikel Nummer | Bezeichnung | |
| 22 | Tecumseh 590408 | ||
| 22-1 | Tecumseh 31512 | ||
| 40 | Tecumseh 31513 | ||
| 41 | Tecumseh 31514 | ||



