Tanaka TED-262L - Portable Gas Drill Air Filter Ersatzteile
Air Filter TED-262L - Tanaka Portable Gas Drill

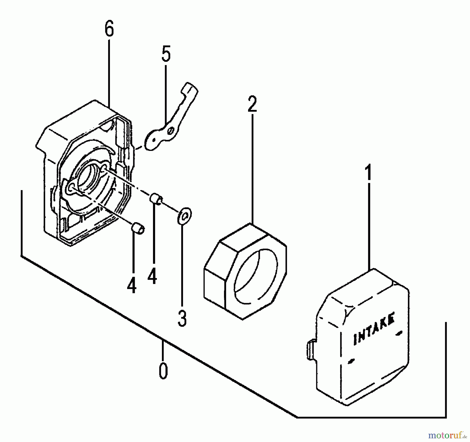
Hier finden Sie die Ersatzteilzeichnung für Tanaka Erdbohrer TED-262L - Tanaka Portable Gas Drill Air Filter. Wählen Sie das benötigte Ersatzteil aus der Ersatzteilliste Ihres Tanaka Gerätes aus und bestellen Sie einfach online. Viele Tanaka Ersatzteile halten wir ständig in unserem Lager für Sie bereit.




