Tanaka TED-210C - Gas Drill (SN: T277487 - T2848900) Carburetor Ersatzteile
Carburetor TED-210C - Tanaka Gas Drill (SN: T277487 - T2848900)

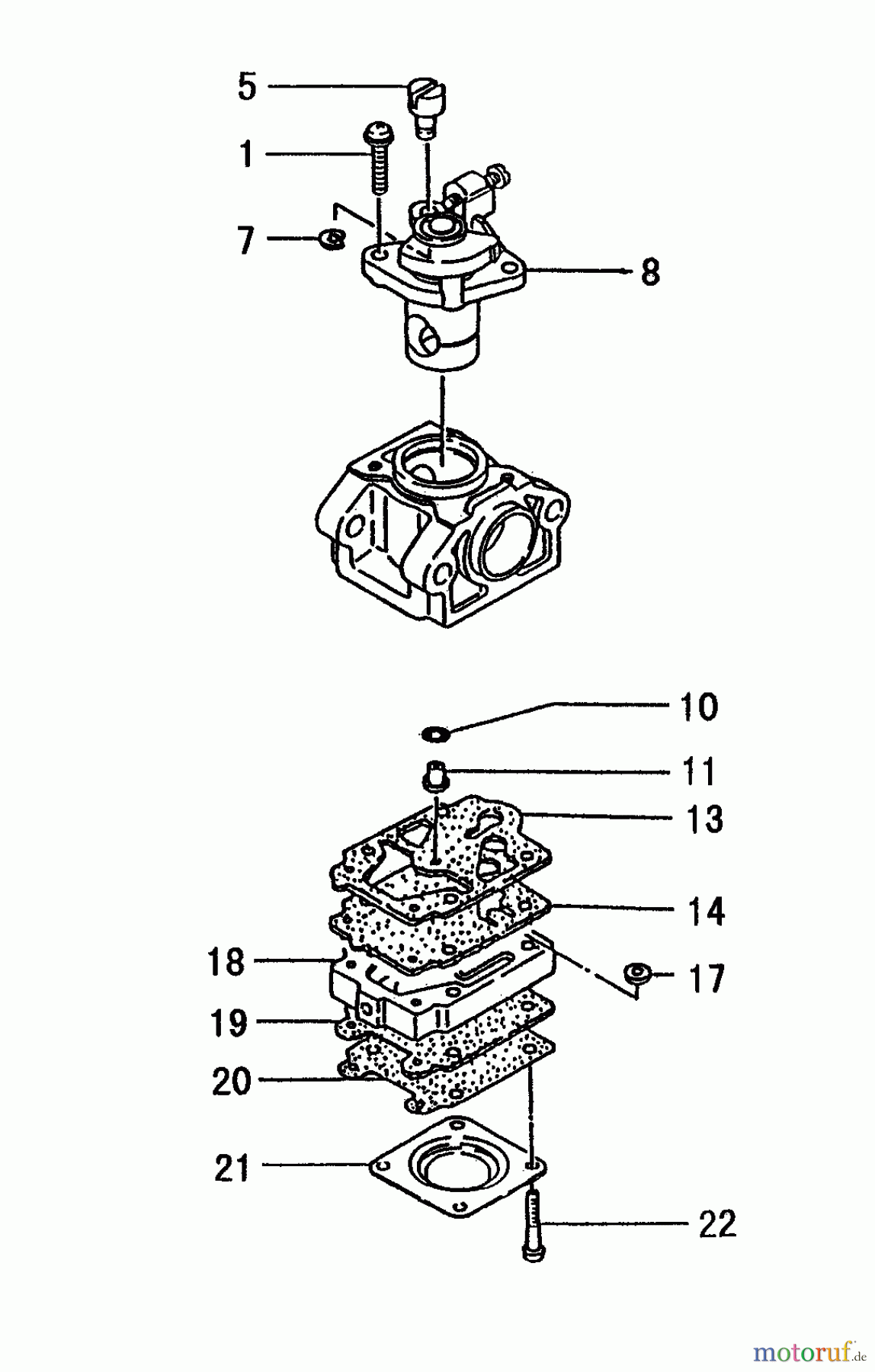
Hier finden Sie die Ersatzteilzeichnung für Tanaka Erdbohrer TED-210C - Tanaka Gas Drill (SN: T277487 - T2848900) Carburetor. Wählen Sie das benötigte Ersatzteil aus der Ersatzteilliste Ihres Tanaka Gerätes aus und bestellen Sie einfach online. Viele Tanaka Ersatzteile halten wir ständig in unserem Lager für Sie bereit.



