Shindaiwa M2510 - Multi-Tool Fuel Tank Ersatzteile
Fuel Tank M2510 - Shindaiwa Multi-Tool

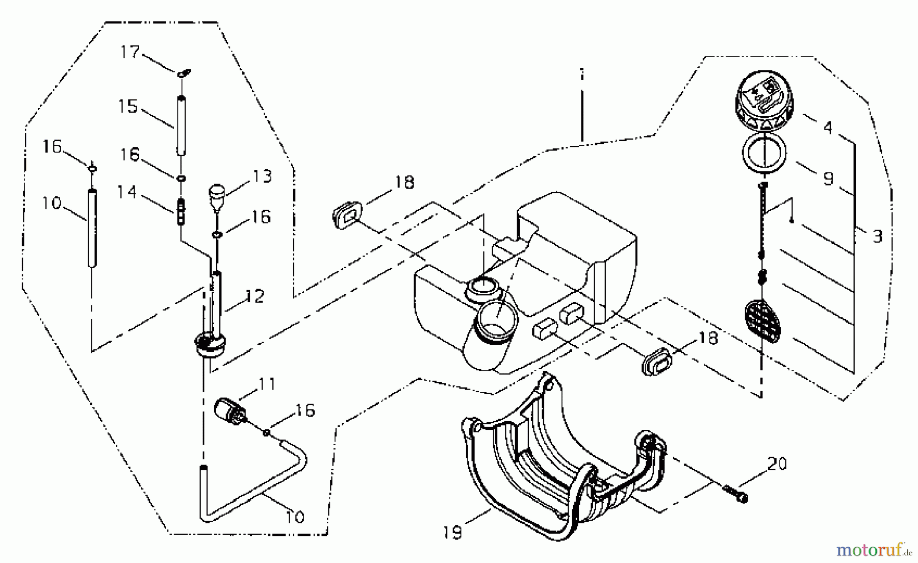
Hier finden Sie die Ersatzteilzeichnung für Shindaiwa Trimmer, Faden / Bürste M2510 - Shindaiwa Multi-Tool Fuel Tank. Wählen Sie das benötigte Ersatzteil aus der Ersatzteilliste Ihres Shindaiwa Gerätes aus und bestellen Sie einfach online. Viele Shindaiwa Ersatzteile halten wir ständig in unserem Lager für Sie bereit.
Häufig benötigte Shindaiwa M2510 - Multi-Tool Fuel Tank Ersatzteile


Qualitätsmanagement
Informieren Sie uns, wenn Sie einen Fehler gefunden haben.






