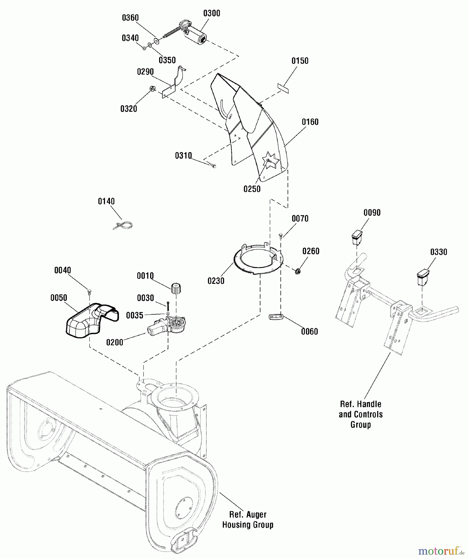
Murray 1330SE (LP37058) (1696044) - John Deere 30" Dual Stage Thrower (2011) Chute & Rotation Group (2989646) Ersatzteile
Chute & Rotation Group (2989646) 1330SE (LP37058) (1696044) - John Deere 30" Dual Stage Thrower (2011)

Hier finden Sie die Ersatzteilzeichnung für Murray Schneefräsen 1330SE (LP37058) (1696044) - John Deere 30" Dual Stage Thrower (2011) Chute & Rotation Group (2989646). Wählen Sie das benötigte Ersatzteil aus der Ersatzteilliste Ihres Murray Gerätes aus und bestellen Sie einfach online. Viele Murray Ersatzteile halten wir ständig in unserem Lager für Sie bereit.


Qualitätsmanagement
Informieren Sie uns, wenn Sie einen Fehler gefunden haben.


