Einstellungen Computer

Murray BTPD22675 (7800882) - Brute 22" Self-Propelled Walk-Behind Mower (2012) Engine Group (7502914) Ersatzteile

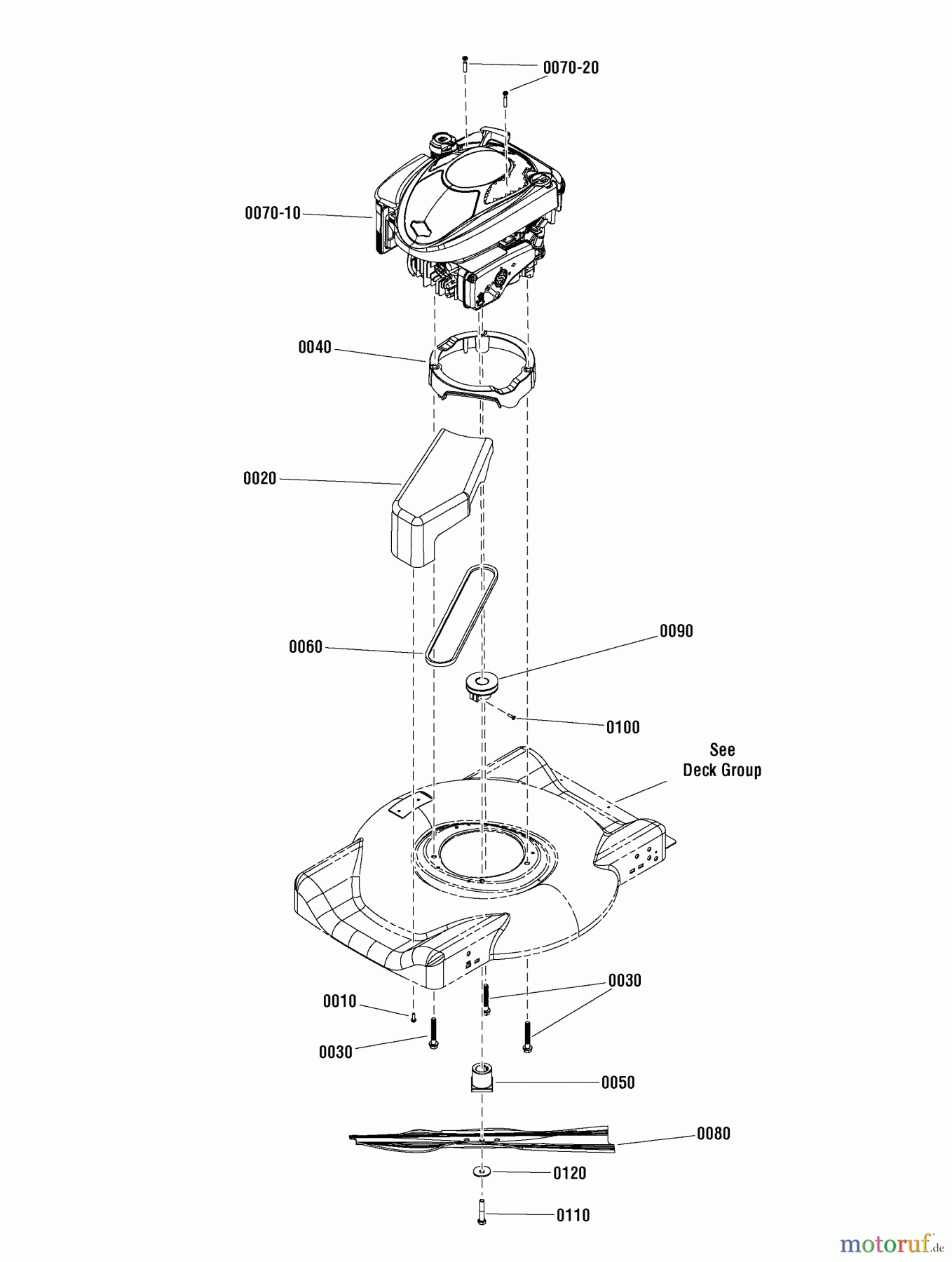
Engine Group (7502914) BTPD22675 (7800882) - Brute 22" Self-Propelled Walk-Behind Mower (2012)

 Murray Rasenmäher BTPD22675 (7800882) - Brute 22

Hier finden Sie die Ersatzteilzeichnung für Murray Rasenmäher BTPD22675 (7800882) - Brute 22" Self-Propelled Walk-Behind Mower (2012) Engine Group (7502914). Wählen Sie das benötigte Ersatzteil aus der Ersatzteilliste Ihres Murray Gerätes aus und bestellen Sie einfach online. Viele Murray Ersatzteile halten wir ständig in unserem Lager für Sie bereit.

Rasen
Bankeinzug, MasterCard, Visa, American Express, PayPal, Nachnahme, Vorauskasse, Sofortüberweisung
Datenschutzerklärung Impressum
Qualitätsmanagement
Informieren Sie uns, wenn Sie einen Fehler gefunden haben.