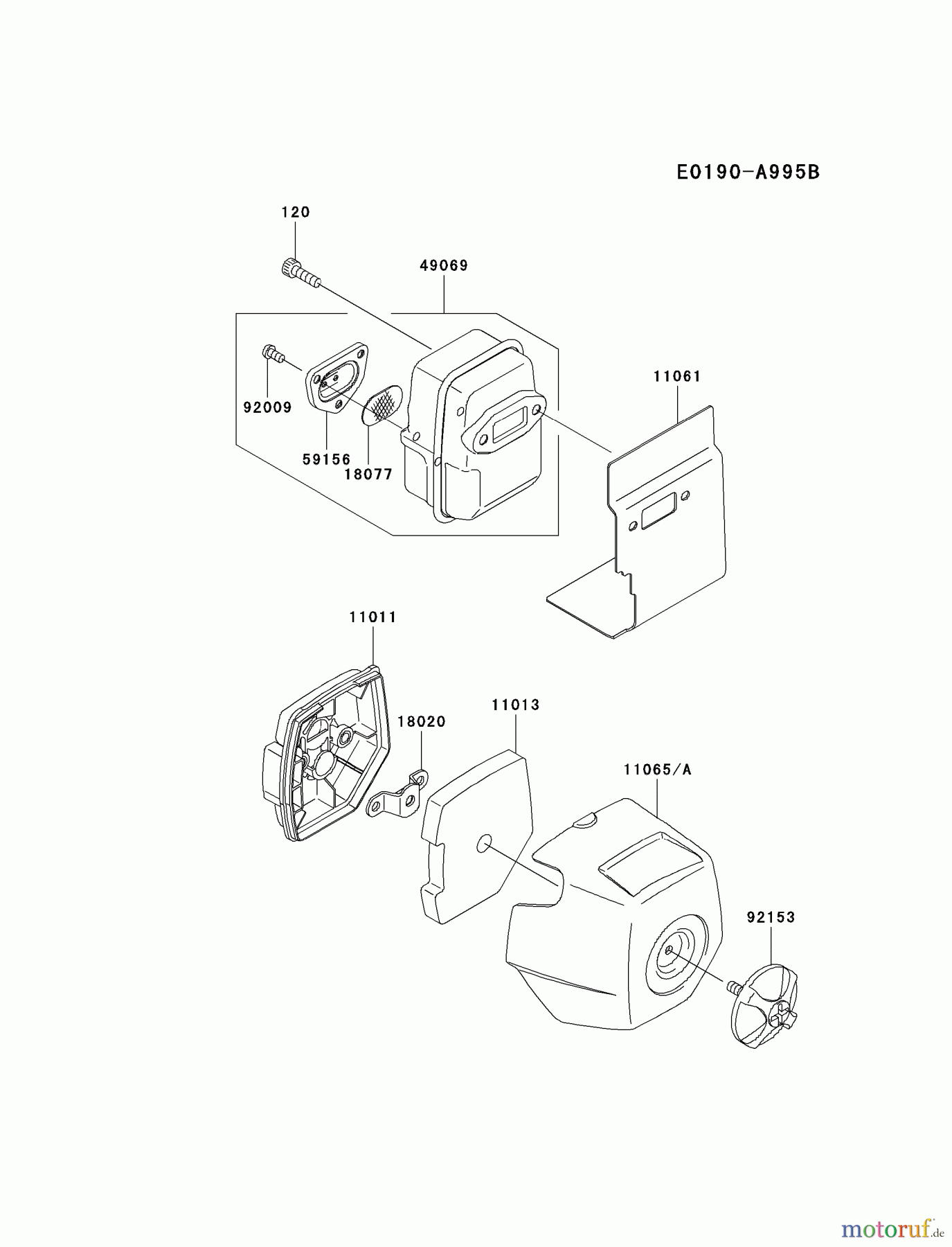
Kawasaki Geräte KRH300A-A1 (KRH300A) - Kawasaki Handheld Blower AIR-FILTER/MUFFLER Ersatzteile
AIR-FILTER/MUFFLER KRH300A-A1 (KRH300A) - Kawasaki Handheld Blower

Hier finden Sie die Ersatzteilzeichnung für Kawasaki Geräte Bläser / Sauger / Häcksler / Zerkleinerer KRH300A-A1 (KRH300A) - Kawasaki Handheld Blower AIR-FILTER/MUFFLER. Wählen Sie das benötigte Ersatzteil aus der Ersatzteilliste Ihres Kawasaki Geräte Gerätes aus und bestellen Sie einfach online. Viele Kawasaki Geräte Ersatzteile halten wir ständig in unserem Lager für Sie bereit.
| BildNr | Artikel Nummer | Bezeichnung | |
| 11011 | KA110112361 | CASE-AIR FILTER | |
| 11013 | KA110132228 | ELEMENT-AIR FILTER | |
| 11061 | KA110612197 | GASKET,MUFFLER | |
| 11065 | KA110652128 | CAP | |
| 11065A | KA110652128 | CAP | |
| 18020 | KA180202091 | BAFFLE | |
| 18077 | KA180772138 | ARRESTER-SPARK | |
| 49069 | KA490692433 | MUFFLER-ASSY | |
| 59156 | KA591562302 | PIPE-TAIL | |
| 92009 | KA920092446 | SCREW | |
| 92153 | KA921532128 | BOLT | |
| 120 | KA120CB0516 | BOLT-SOCKET | |



