Jonsered CS2171 EPA - Chainsaw (2003-05) MUFFLER Ersatzteile
MUFFLER CS2171 EPA - Jonsered Chainsaw (2003-05)

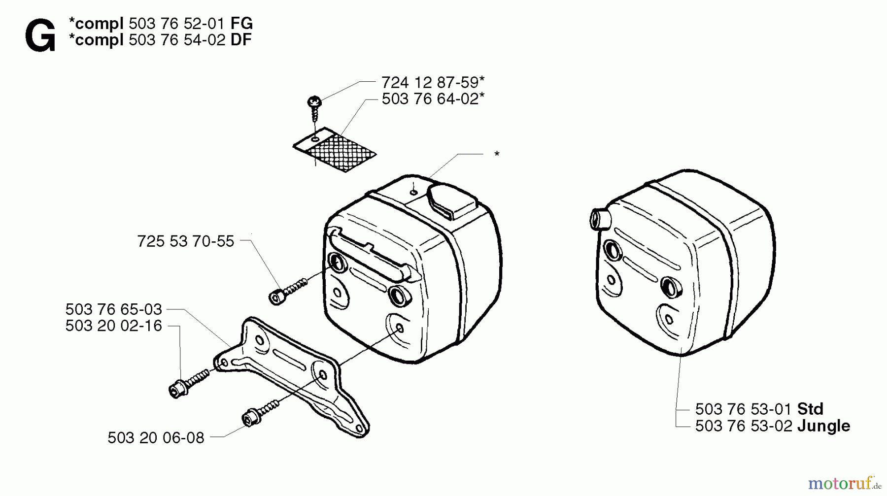
Hier finden Sie die Ersatzteilzeichnung für Jonsered Motorsägen CS2171 EPA - Jonsered Chainsaw (2003-05) MUFFLER. Wählen Sie das benötigte Ersatzteil aus der Ersatzteilliste Ihres Jonsered Gerätes aus und bestellen Sie einfach online. Viele Jonsered Ersatzteile halten wir ständig in unserem Lager für Sie bereit.
| BildNr | Artikel Nummer | Bezeichnung | |
| 5037652-01 | 544 02 97-02 | SCHALLDAEMPFER KPL | |
| 5037654-02 | 503 76 54-02 | SCHALLDAEMPFER | |
| 7255370-55 | ![]() | 725 53 70-55 | SCHRAUBE |
| 5037665-03 | 503 76 65-03 | BEFESTIGUNG | |
| 5032002-16 | ![]() | 503 20 02-16 | SCHRAUBE |
| 5032006-08 | 503 20 07-02 | Schraube IHSCFM | |
| 5037653-02 | 503 76 53-02 | SCHALLDAEMPFER "JUNGLE" | |
| 5037653-01 | 544 02 95-01 | SCHALLDAEMPFER KPL. | |
| 5037664-02 | 503 76 64-02 | NETZ | |
| 7241287-59 | 724 12 87-59 | SCHRAUBE | |


Qualitätsmanagement
Informieren Sie uns, wenn Sie einen Fehler gefunden haben.



